Use and Care Guide
Table Of Contents

15
CONTENIDO DEL PAQUETE
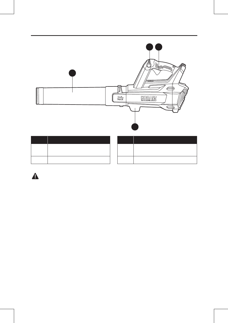
A
B C
D
PIEZA DESCRIPCIÓN PIEZA DESCRIPCIÓN
A Tubo del soplador C
Interruptor del gatillo de
velocidad variable
B Palanca de bloqueo del gatillo D Oricio para colgar
ADVERTENCIA
• Saque la herramienta del paquete y examínela con cuidado. Inspeccione la herramienta con
cuidado para asegurarse de que no se produjo ninguna ruptura ni ningún daño durante el
envío. Si hay piezas dañadas o faltantes, devuelva el producto al lugar donde lo compró. No
deseche la caja ni ningún material de embalaje hasta haber examinado todas las piezas.
• Si falta alguna pieza o si alguna pieza está dañada, no je el paquete de baterías ni use
la herramienta hasta reparar o reemplazar la pieza. No seguir esta advertencia podría
provocar lesiones graves.










