User Manual
Table Of Contents

IP-00068 Rev. A – 03/06 Page 2/2
Copyright © This drawing is property of L-com Global Connectivity. All rights reserved.
L-COM, INC. 45 BEECHWOOD DRIVE NORTH ANDOVER, MA 01845
WWW.L-COM.COM E-MAIL: SALES@L-COM.COM PHONE: 1-800-343-1455 FAX: 1-978-689-9484
© L-com, Inc. All Rights Reserved. L-com Global Connectivity and the L-com logo are registered marks.
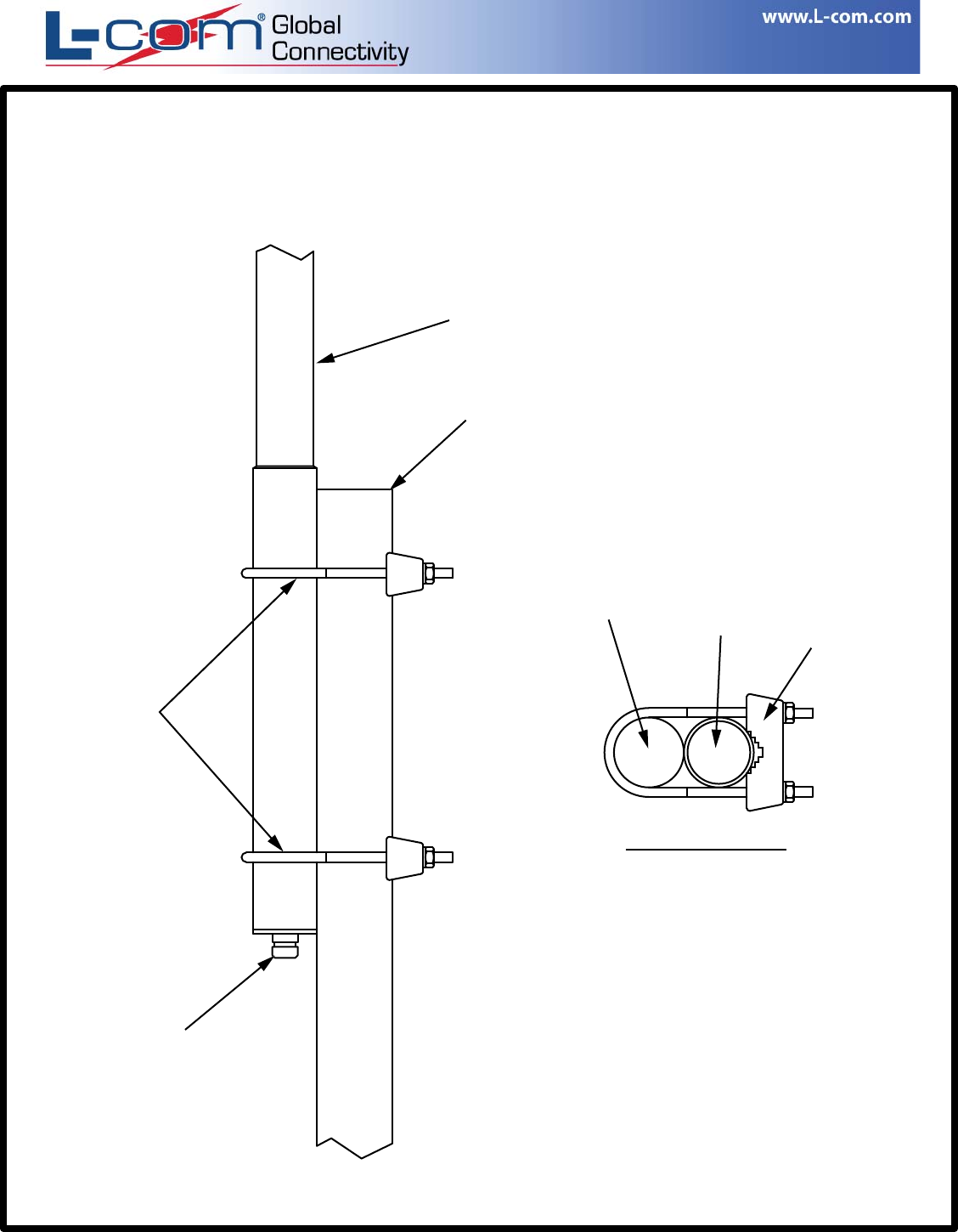
Mounting Diagram
HG2415U-PRO, HG908U, HG908U-PRO
HG1911U-PRO
Antenna
Mast - 1.25" to 2" (31.7 to 50.8 mm) Max. Dia.
Connector
Mounting
Brackets
(HGX-PMT11)
Cross Section
Antenna
Mast
Mounting
Bracket


