Installation Instructions

Leveling the Appliance - Figure 17
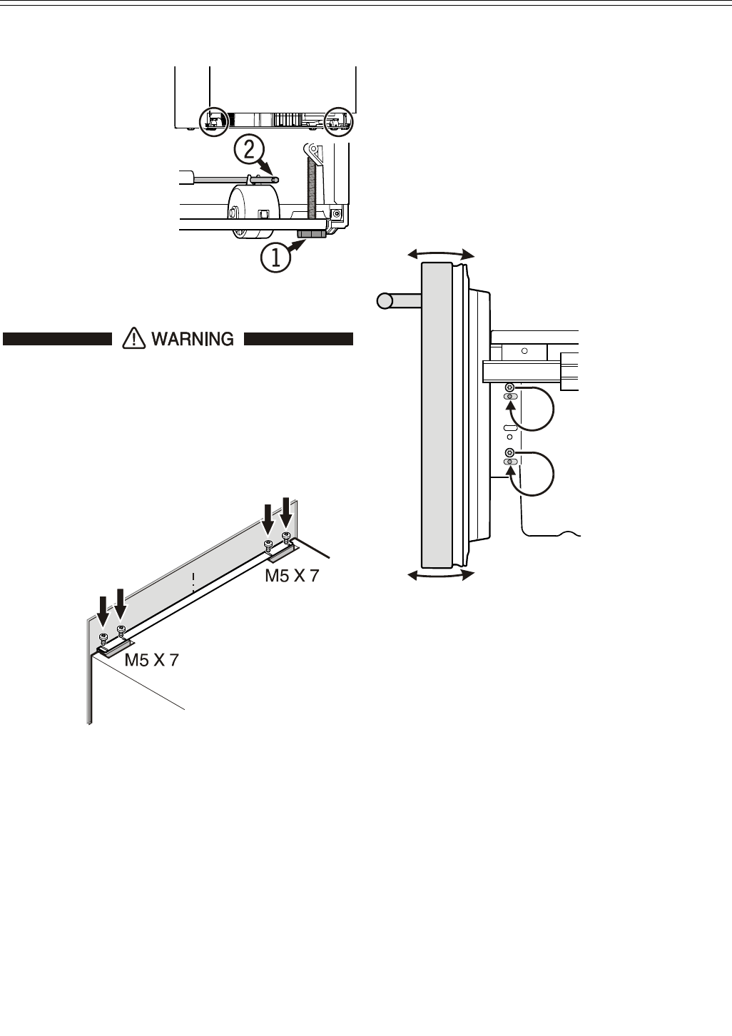
1. The height can be
adjusted in front by
twisting the leveling feet
1
.
2. Twist the adjusting bolt
2
to set up the back
of the refrigerator.
3. Rotate leveling feet
1
until firmly in place
against the floor.
To prevent the appliance from tipping
forward the leveling feet
1 (Figure 17)
must have contact with the floor.
Adjusting the front of the draw-
er
- Figure 19
If required, the front of the freezer drawers can be
adjusted.
Transfer the screws shown in the illustration (on the left
and right sides of the freezer drawer) individually to the
long slots below.
Tighten the screws in the front of the drawer once it is in
the right position.
Side view of the freezer draw-
er pulled out
Figure 19
Figure 17
Top anti-tipping bracket
4. Secure the appliance with M5 x 7
screws (Figure 18).
Figure 18
10
I
nStallatIon










