- Lowrance Electronics Fish Finder User Manual

22
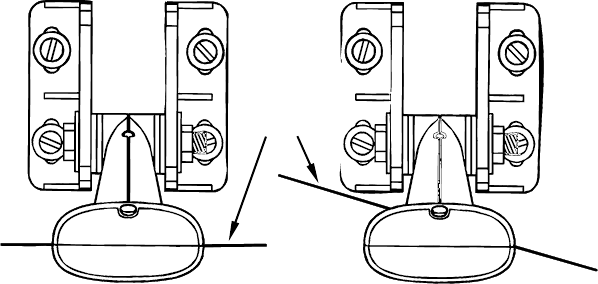
Align transducer centerline with hull bottom and attach transducer to
transom. Rear view of dual-frequency Skimmer shown.
6. Route the transducer cable through or over the transom to the sonar
unit. Make sure to leave some slack in the cable at the transducer. If
possible, route the transducer cable away from other wiring on the
boat. Electrical noise from the engine's wiring, bilge pumps, VHF radio
wires and cables, and aerators can be picked up by the sonar. Use cau-
tion when routing the transducer cable around these wires.
WARNING:
Clamp the transducer cable to the transom close to the
transducer. This can prevent the transducer from enter-
ing the boat if it is knocked off at high speed.
If you need to drill a hole in the transom to pass the connector through,
the required hole size be 1".
Caution:
If you drill a hole in the transom for the cable, make sure it is
located above the waterline. After installation, be sure to seal the
hole with the same marine grade above- or below-waterline seal-
ant used for the mounting screws.
7. Make a test run to determine the results. If the bottom is lost at
high speed, or if noise appears on the display, try sliding the trans-
ducer bracket down. This puts the transducer deeper into the water,
hopefully below the turbulence causing the noise. Don't allow the
transducer bracket to go below the bottom of the hull!
Flat-bottom hull Deep-"vee" hull
Bottom
of
hull
www.Busse-Yachtshop.de email: info@busse-yachtshop.de










