- Lowrance Electronics Fish Finder User Manual

33
to power even if your only NMEA 2000 device is the GPS module and it
is connected to the display unit's Network socket. (However, never
connect multiple power sources to a NMEA 2000 network. If you
have a network that is already powered, see diagram B on page 33.)
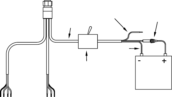
Power Diagram B
Use this method if you are only powering your display unit and are not
powering a NMEA 2000 network or any NMEA 2000 accessory device,
including a GPS module. (Fuse may be different from that shown.)
The method in diagram B is also used when your display unit is con-
nected to a NMEA 2000 network that is already connected to power.
(Never connect multiple power sources to a NMEA 2000 network.)
Powering a NMEA 2000 Network Bus
A NMEA 2000 bus must be connected to a power source to operate.
NMEA 2000 devices, including GPS modules, draw their power from
the network bus.
If you have a pre-existing NMEA 2000 network installation, it may al-
ready be connected to another power source. If you are not sure about a
network's power status, consult the boat manufacturer or dealer. If your
NMEA 2000 bus is already powered, you can ignore the NMEA 2000
Power cable and use the method shown in Power Diagram B above.
Never attach two power sources to a single NMEA 2000 bus.
Red wire with
3-amp fuse
Black wire
Recommended
power off switch
Data Cable
To unit
NMEA 2000 Power Cable
White wire
(unused)
12 volt DC
power source
All unused Data
or NMEA 2000
power wires
should be
capped with
wire nuts and
electrical tape
to prevent
shorts.
Display Unit
Power Cable
www.Busse-Yachtshop.de email: info@busse-yachtshop.de










