Manual
Table Of Contents
- 1 General Information
- 2 Introduction
- 3 Installation
- 4 Operation
- 5 Maintenance
- 6 Service
- Index
- Appendix A: M330 Spectral Correction Procedure
- Appendix B: Optional Blackbody Spectral Radiance Correction Software for M330 Blackbody Source
- Appendix C: CE Certification

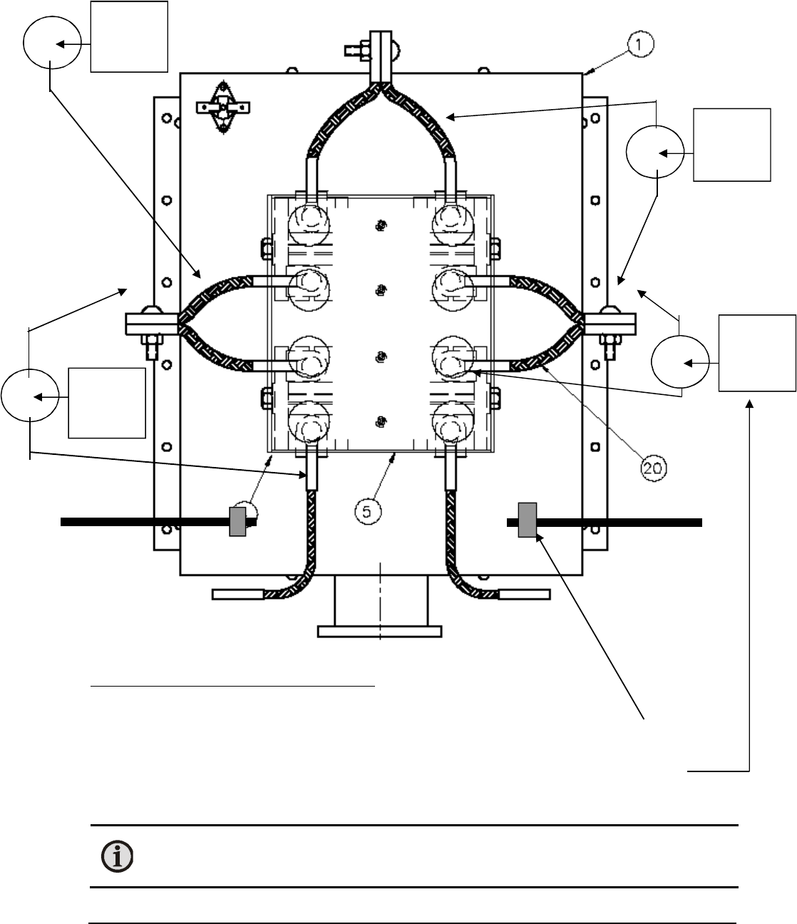
M330 Manual Service 28
To check which heating element is broken:
1. Disconnect the AC power.
2. Locate which heating element is broken. Disconnect only one of the wires attached
to an end strap.
3. Use Ohmmeter to measure across each heating element. If any of the above
readings are OPEN circuit or greater than 100 ohms, then the element is bad and
needs replacement.
Note: Sometimes the element may show OK when it is cold, but opens when it gets
hot. If all measurements are ok, problem is due to some other component in the
heating circuit. Do not proceed with this instruction.
1 to 10
ohms
OK
1 to 10
ohms
OK
1 to 10
ohms
OK
1 to 10
ohms
OK










