Manual

M330 Manual Service 31
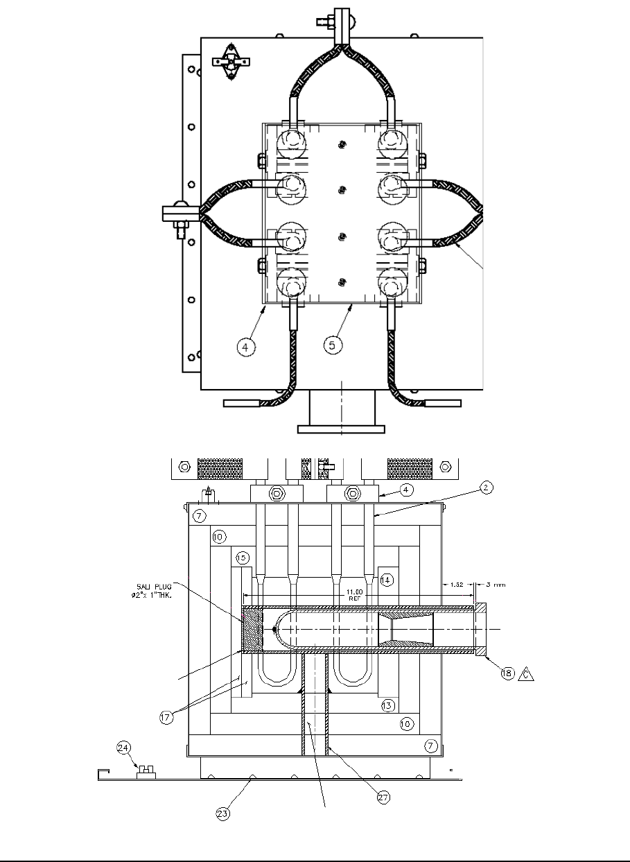
10. Replace straps.
11. Replace main supply wires to end straps.
Proper connection of electrical straps and clamps. Top view.