Exploded Parts
Manuals
Brands
Manitowoc Manuals
Undercounter
Manitowoc Neo 26" 219 Lbs Daily Dice Undercounter Commercial Ice Machine
1
2
3
4
5
6
7
8
9
10
U0240
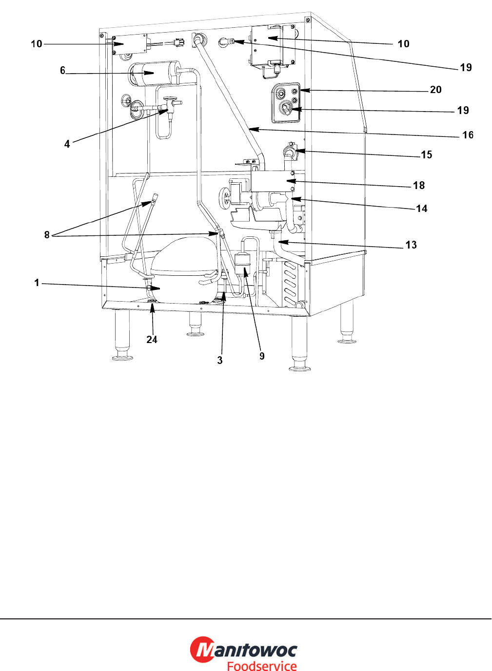
U0240 - REFRIGERATION COMPARTMENT - COMMON COMPONENTS
U0240_PARTS_MII_4.PDF
5
1
...
...
5
6
7
8
9
...
...
15