User's Guide Compact Dryer Range Hood UXT5230AD, UXT5236AD
Manuals
Brands
Maytag Manuals
Ventilation Hood
UXT5236AD
1
2
3
4
5
6
7
8
9
10
CONTROLS & FEA
TURES
2
CONTROLS & FEA
TURES
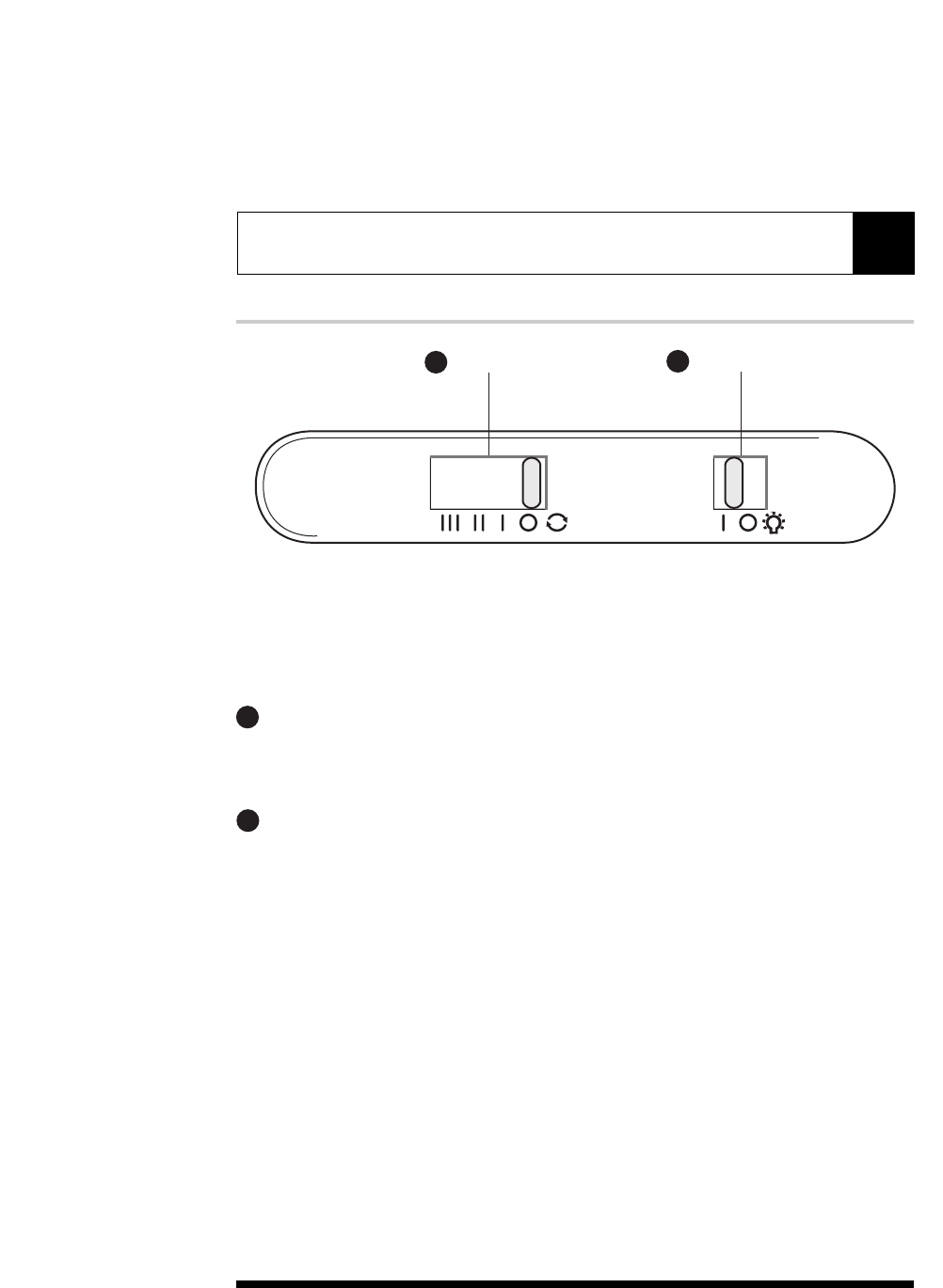
Speed Selection
1
Lights On/Off
2
Lights On/Off
Speed Selection
2
1
This switch controls the speed of the blower
.
The first position is low speed,
the second is
medium speed,
and the third is high speed.
T
urn lights on or off by moving this s
witch.
1
2
3
4
5
...
...
24