Unit installation

Table Of Contents
26 AGZ 035A through 065A IOMM AGZ-3
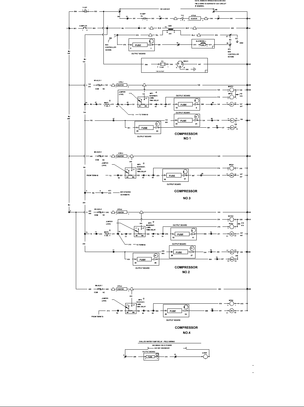
Figure 16, Unit Control Schematic (MicroTech)