Specifications
Manuals
Brands
McQuay Manuals
Air Conditioner
M4MSD
21
22
23
24
25
26
27
28
29
30
29
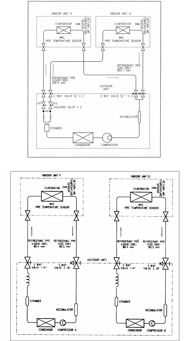
Model : MMSHK77A
Model : MMSH8K8A
1
...
...
28
29
30
31
32
...
...
57