Datasheet
Table Of Contents

22
ATmega165A/PA/325A/PA/3250A/PA/645A/P/6450A/P [SUMMARY]
8285ES–AVR–02/2013
4.4 100A
2325 Orchard Parkway
San Jose, CA 95131
TITLE
DRAWING NO.
R
REV.
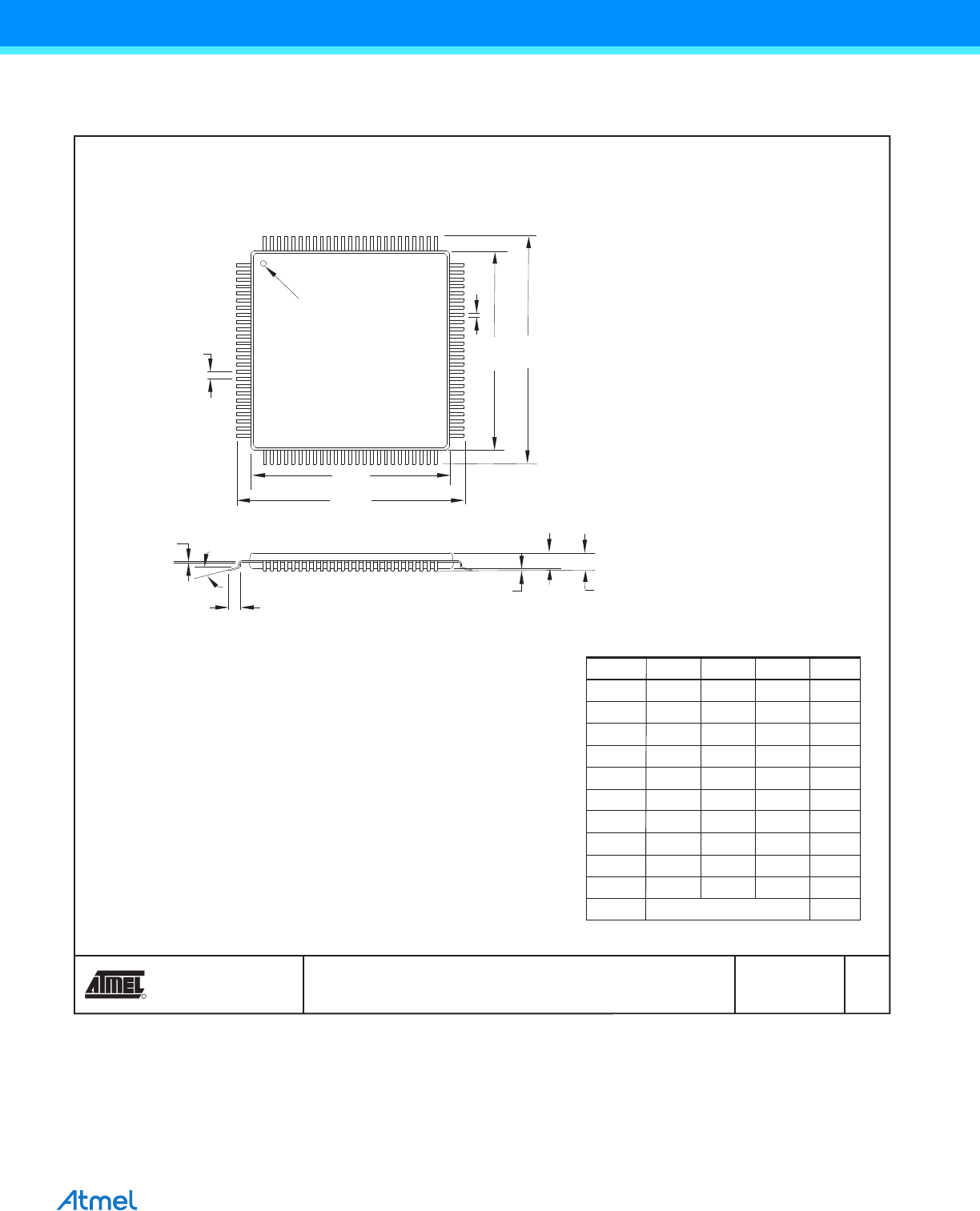
100A, 100-lead, 14 x 14mm Body Size, 1.0mm Body Thickness,
0.5mm Lead Pitch, Thin Profile Plastic Quad Flat Package (TQFP)
D
100A
2010-10-20
PIN 1 IDENTIFIER
0°~7°
PIN 1
L
C
A1
A2 A
D1
D
e
E1 E
B
A – – 1.20
A1 0.05 – 0.15
A2 0.95 1.00 1.05
D 15.75 16.00 16.25
D1 13.90 14.00 14.10 Note 2
E 15.75 16.00 16.25
E1 13.90 14.00 14.10 Note 2
B 0.17 – 0.27
C 0.09 – 0.20
L 0.45 – 0.75
e 0.50 TYP
Notes:
1. This package conforms to JEDEC reference MS-026, Variation AED.
2. Dimensions D1 and E1 do not include mold protrusion. Allowable
protrusion is 0.25mm per side. Dimensions D1 and E1 are maximum
plastic body size dimensions including mold mismatch.
3. Lead coplanarity is 0.08mm maximum.
COMMON DIMENSIONS
(Unit of Measure = mm)
SYMBOL
MIN
NOM
MAX
NOTE










