Wiring Circuit Diagrams

Table Of Contents
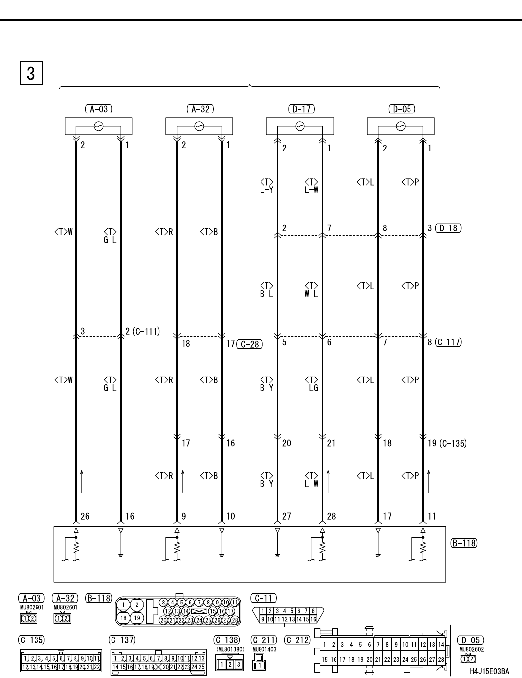
ABS <RHD>
CIRCUIT DIAGRAMS
90-292
ABS <RHD> (CONTINUED)
ABS SENSOR
(FRONT: LH) (FRONT: RH) (REAR: LH) (REAR: RH)
ABS-ECU
FRONT
SIDE