Install Manual
Table Of Contents

83
11 NO PREVIOUS CODE – Stored codes are
erased after 72 hours. Run system
through a heating or cooling cycle to
check system.
12 BLOWER ON AFTER POWER UP –
(115V OR 24V) – Normal operation.
Blower runs for 90 seconds, if unit is
powered up during a call for heat (R-W
closed) or when (R-W opens) during the
blower on-delay period.
13 LIMIT CIRCUIT LOCKOUT – Lockout
occurs if the limit or flame rollout is open
longer than 3 minutes. Control will auto-
reset after 3 hours. See code 33.
14 IGNITION LOCKOUT – System failed to
ignite gas and prove flame in 4 attempts.
Control will auto-reset after 3 hours. See
status code 34.
21 GAS HEATING LOCKOUT – Turn off
power and wait 5 minutes to retry. Check
for:
- Stuck closed gas valve relay on control.
- Miswire or short to gas valve wire.
22 ABNORMAL FLAME-PROVING SIGNAL
Flame is proved while gas valve is de-
energized. Inducer will run until fault is
cleared. Check for:
- Stuck open or leaky gas valve.
23 PRESSURE SWITCH DID NOT OPEN –
Check for:
- Obstructed pressure tube.
- Pressure switch stuck closed.
24 SECONDARY VOLTAGE FUSE IS OPEN
Check for:
- Short circuit in secondary voltage (24V)
wiring including thermostat leads.
Disconnect thermostat leads to isolate
short circuit.
31 LPS or HPS PRESSURE SWITCH DID
NOT CLOSE OR REOPENED – If opens
during blower on-delay period, blower will
come on for the selected blower off-delay.
Check for:
- Proper vent sizing.
- Air leak between vestibule and blower
compartment.
- Low inlet gas pressure (if LGPS used).
- Disconnected or obstructed pressure
tubing.
- Defective or miswired pressure switches
- Excessive wind.
- Plugged condensate drain
- Water in vent piping, possible sagging
pipe
- Restricted vent.
- Defective Inducer motor.
- Low inducer voltage (115 VAC)
33 LIMIT CIRCUIT FAULT – Indicates the
limit, flame rollout is open. Blower will run
for 4 min. or until open switch remakes
whichever is longer. If open longer than 3
min, code changes to lockout #7. If open
less than 3 min. status code #4 continues
to flash until blower shuts off. Flame
rollout switch requires manual reset.
Check for:
-
Loose blower wheel.
-
Defective switch or connections.
-
Dirty filter or restricted duct system.
-
Improper gas input adjustment.
-
Improper limit switch or no gasket unless
noted on switch.
34 IGNITION PROVING FAILURE – If flame
is not sensed during the trial for ignition
period, the control will repeat the ignition
sequence 3 more times before lockout #14
occurs. If flame signal is lost during the
blower on-delay period, blower will come
on for the selected blower off-delay.
Check the following items first before
proceeding to the next step.
- Gas valve turned off.
- Manual shut-off valve.
- Green/Yellow wire MUST be connected
to furnace sheet metal.
- Flame sensor must not be grounded.
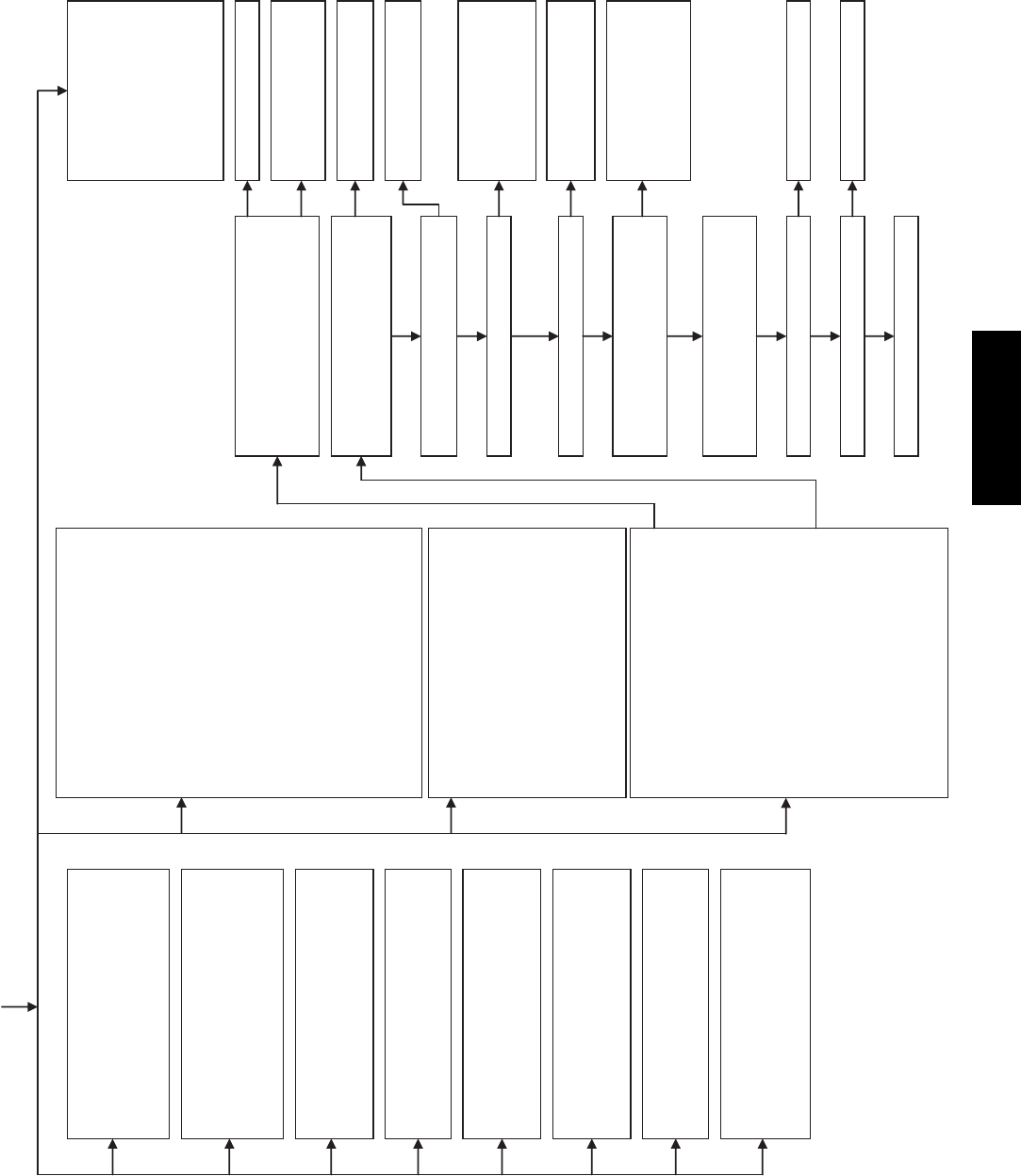
To determine whether the problem is in
the gas valve, igniter, or flame sensor the
system can be operated in the component
test mode to check the igniter. First
remove the R thermostat connection from
the control and initiate the component test
sequence. Does the igniter glow
orange/white by the end of the 15 second
warm-up period?
Check connections and retry.
If current is near typical value
(4.0-6.0 nominal) and burners
will not stay on, replace
control.
Clean flame sensor with fine steel wool
and recheck current. Nominal current is
4.0 to 6.0 microamps.
Is current near typical value?
Replace electrode.
Will main burners ignite and stay on?
Replace furnace control.
Fixed.
NO
YES
YES
YES
YES
NO
NO
45 CONTROL CIRCUITRY
LOCKOUT Auto-reset
after 1 hour lockout due
to:
- Flame circuit failure.
- Gas valve relay stuck
open.
- Software check error.
Reset power to clear
lockout. Replace
control if code repeats.
Unplug igniter harness from control and
initiate another component test
sequence. Check for 115V between pin
1 and NEUTRAL-L2 on the control. Was
115V present for the 15 second period?
Replace furnace control.
Check for continuity in the
harness and igniter. Replace
defective component.
Reconnect the R thermostat lead and set
thermostat to call for heat. Connect
voltmeter across gas valve connections.
Does gas valve receive 24V?
Does gas valve open and allow gas to
flow?
Do the main burners ignite?
Do the main burners stay on?
Allow blower to come on and
repeat test to check for
intermittent operation.
Check that all gas valves are
turned on. Replace valve.
Check connections. If OK,
replace control.
Repeat call for heat and check flame
sensor current during trial for ignition
period. Is the DC microamps below 0.5?
YES
YES
YES
YES
YES
NO
NO
NO
NO
NO
NO
Check for:
- Inadequate flame carryover
or rough ignition.
- Low inlet gas pressure.
- Proper firing rate.
If LPS opens longer than 5 minutes,
inducer shuts off for 15 minutes before
retry. If HPS remains open for one minute
after gas valve closes the furnace will shut
down and retry. If HPS fails to close on
three successive cycles the furnace will
lockout for 3 hrs before retry.
A12421
Troubleshooting Guide (Cont)
PG95SAS










