User Manual
Table Of Contents

Construction
SWIFT 30 Sensors Hardware Overview
19
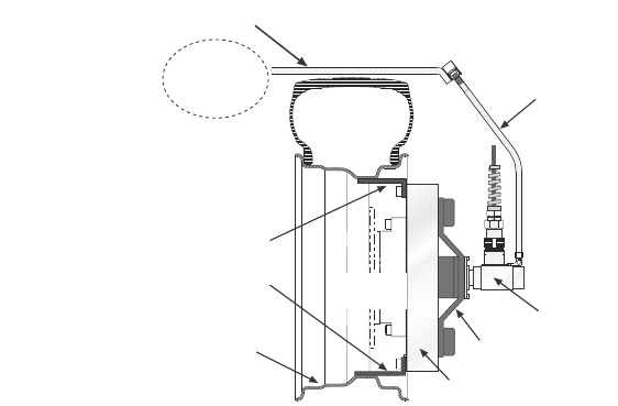
Hub adapter The hub adapter attaches to the inner diameter of the transducer, allowing you to
place it at the original position of the spindle face of the vehicle. The hub adapter
enables you to maintain the original position of the tire on the vehicle while the
transducer is attached to the vehicle (the tire will not protrude from the vehicle).
Components Set Up for Test Track
Slip ring bracket
(spider)
The slip ring bracket (also referred to as the “spider”) is used to attach the slip
ring to the transducer. It has internal wiring that provides excitation power to the
strain gage bridges and brings signals out from the transducer to the slip ring.
Encoder An encoder measures the angular position of the transducer. The SWIFT sensor
uses an optical encoder, integrated into the slip ring assembly, that counts off
“ticks” to measure the angular position as the wheel rotates. It measures 2048
(512 plus quadrature) points per revolution (ppr) with a resolution of 0.18
degrees and an accuracy of 0.18 degrees.
Slip ring The slip ring allows you to output the transducer bridge signals and angular
position to the TI. A transducer data cable attaches from the slip ring to the back
panel of the TI. The slip ring is not used for non-spinning applications.
Anti-rotate device The anti-rotate device is attached to the slip ring and the vehicle’s suspension (or
other non-rotating point). It is able to move up and down with the vehicle. Its
primary function is to provide a fixed reference point for the optical encoder. Its
secondary function is to prevent the cable from rotating with the wheel and
becoming tangled or breaking.
The anti-rotate device is mainly used for road data collection. Although it can
also be used for short periods of time on a road simulator. MTS does not
recommend this use. Due to the extreme fatigue loading characteristics of
durability testing on road simulators, we suggest that you either remove the slip
ring assembly before installing the vehicle on a road simulator, or use it only for
iteration passes, then promptly remove it.
(Components exaggerated to show detail)
Slip
Ring
Slip Ring Bracket
(Spider)
Transducer
Interface
Cable
Anti-rotate Device
(Bend to fit vehicle)
Transducer
Customer-supplied
Attachment Bracket
Tire
Wheel Rim
Customer-supplied
Rim Adapter Flange
Hub
Adapter
Attach to
vehicle
suspension
S20-04










