Portable Generator User Manual
Manuals
Brands
Multiquip Manuals
Portable Generator
DCA70USI2
51
52
53
54
55
56
57
58
59
60
P
A
GE 60 — DCA70USI2 60 HZ GENERA
T
OR • OPERA
TION AND P
ARTS MANU
AL — REV
.
#0 (06/28/11)
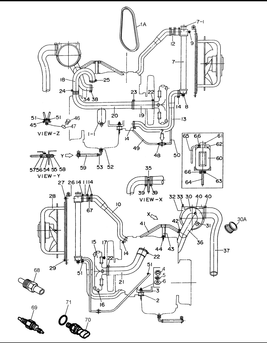
ENGINE AND RADIA
TOR ASSY
.
1
...
...
58
59
60
61
62
...
...
84