Portable Generator User Manual
Manuals
Brands
Multiquip Manuals
Portable Generator
DCA70USI2
61
62
63
64
65
66
67
68
69
70
P
A
GE 66 — DCA70USI2 60 HZ GENERA
T
OR • OPERA
TION AND P
ARTS MANU
AL — REV
.
#0 (06/28/11)
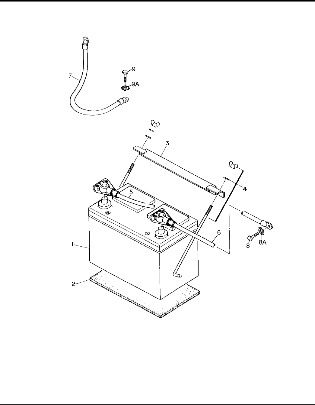
BA
TTER
Y ASSY
.
1
...
...
64
65
66
67
68
...
...
84