user manual
Manuals
Brands
Multiquip Manuals
Microscope & Magnifier
Microscope & Magnifier MVC-90L
41
42
43
44
45
46
47
48
49
50
P
A
GE 42 — MVC-90L PLA
TE COMP
A
CTOR — OPERA
TION & P
ARTS MANU
AL — REV
. #1 (11/01/05)
l
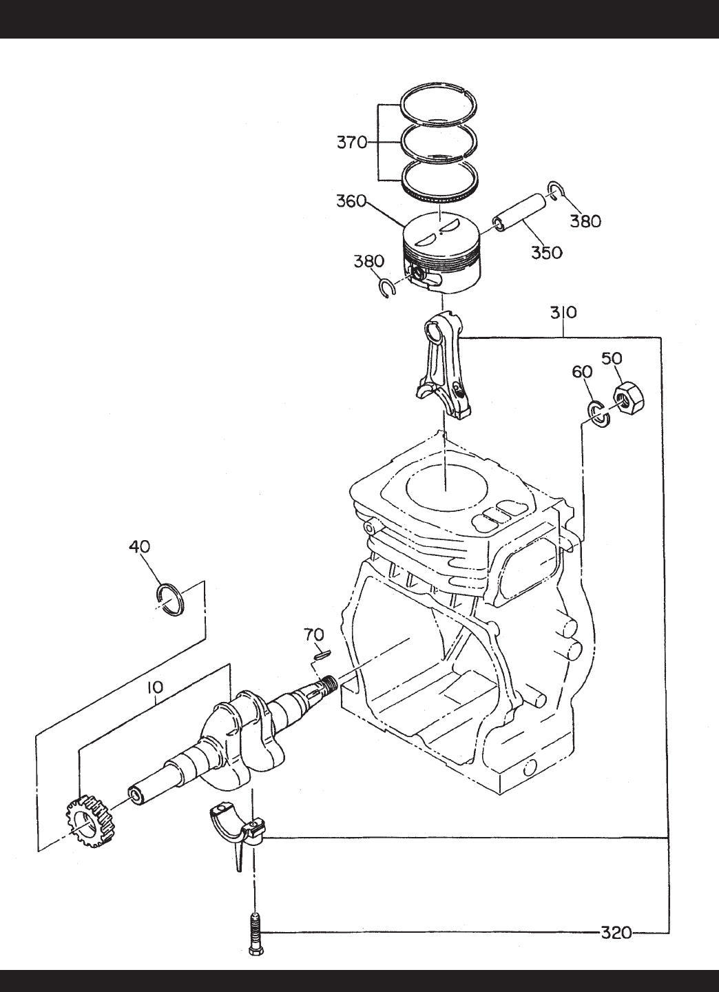
CRANKSHAFT ASSY
.
ROBIN EH172YD4230 ENGINE — CRANKSHAFT ASSY
.
1
...
...
40
41
42
43
44
...
...
60