user manual
Manuals
Brands
Multiquip Manuals
Microscope & Magnifier
Microscope & Magnifier MVC-90L
51
52
53
54
55
56
57
58
59
60
P
A
GE 52 — MVC-90L PLA
TE COMP
A
CTOR — OPERA
TION & P
ARTS MANU
AL — REV
. #1 (11/01/05)
l
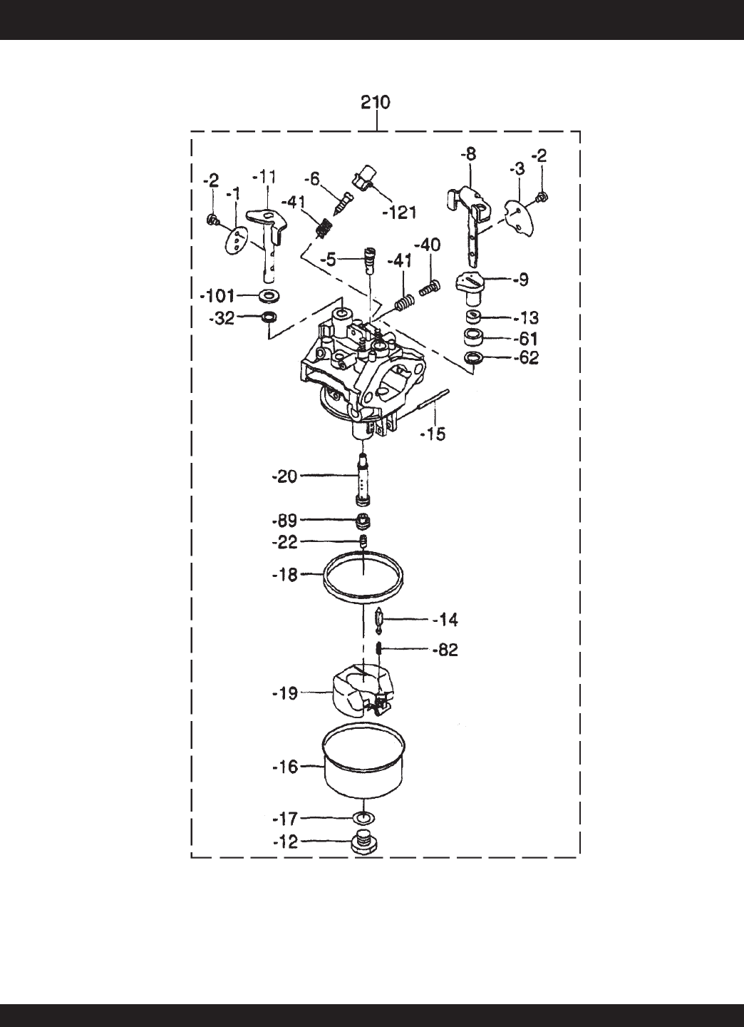
ROBIN EH172YD4230 ENGINE — CARB
URET
OR ASSY
.
CARBURET
OR ASSY
.
1
...
...
50
51
52
53
54
...
...
60