Specifications
Manuals
Brands
MULTIQUIP Manuals
Industrial
Mikasa MVC-90L
31
32
33
34
35
36
37
38
39
40
P
A
GE 36 — MVC-90L PLA
TE COMP
A
CTOR — OPERA
TION & P
ARTS MANU
AL — REV
. #1 (11/01/05)
l
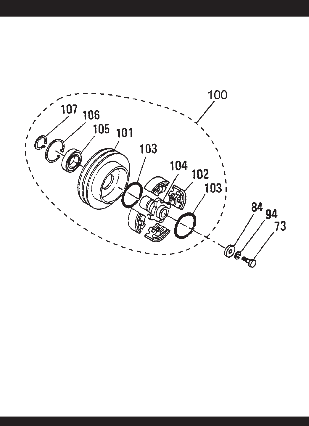
MVC-90L PLA
TE COMP
A
CT
OR — CLUTCH ASSY
.
(OLD
TYPE)
CLUTCH ASSY
.
(OLD
TYPE)
1
...
...
34
35
36
37
38
...
...
60