Specifications
Manuals
Brands
MULTIQUIP Manuals
Industrial
Mikasa MVC-90L
41
42
43
44
45
46
47
48
49
50
P
A
GE 50 — MVC-90L PLA
TE COMP
A
CTOR — OPERA
TION & P
ARTS MANU
AL — REV
. #1 (11/01/05)
l
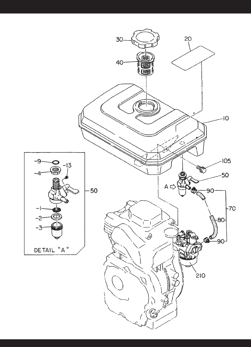
ROBIN EH172YD4230 ENGINE — FUEL GR
OUP ASSY
.
FUEL GR
OUP ASSY
.
1
...
...
48
49
50
51
52
...
...
60