Parts Manual Instruction Manual

PAGE 42 — MQ DRY PRIME PUMP • PARTS MANUAL — REV. #5 (10/12/2009)
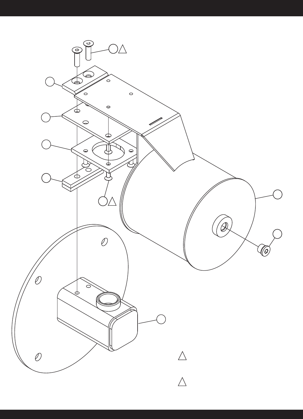
MQ DRY PRIME PUMP —FLOAT VALVE ASSY.
FLOAT VALVE ASSY.
2
1
USE THREADLOCK: HIGH TEMP.
LOCTITE BLUE 246 OR EQUIVALENT.
TORQUE TO 14 FT-LBF (18.9 N-m)
1
USE THREADLOCK: HIGH TEMP.
LOCTITE BLUE 246 OR EQUIVALENT.
TORQUE TO 10 FT-LBF (13.5 N-m)
2
9
3
8
2
1
4
6
5
7