User's Manual
Manuals
Brands
Multiquip Manuals
Boat
Multiquip Multiquip Boat MT-62HS
21
22
23
24
25
26
27
28
29
30
P
A
GE 30 — MT
-62HS — P
ARTS & OPERA
TION MANU
AL — REV
. #2 (12/15/03)
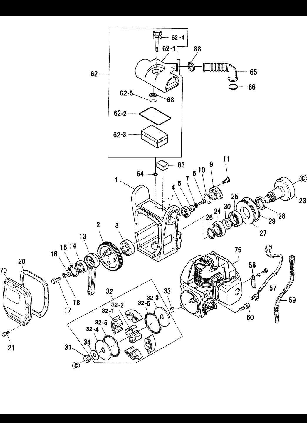
MT
-62HS — CRANKCASE AND ENGINE ASSY
.
CRANKCASE AND ENGINE ASSY
.
1
...
...
28
29
30
31
32
...
...
68