User's Manual
Manuals
Brands
Multiquip Manuals
Portable Generator
Multiquip Multiquip Portable Generator CDA45SSIU3
51
52
53
54
55
56
57
58
59
60
P
A
GE 56 — DCA45SSIU3 50 HZ GENERA
T
OR • OPERA
TION AND P
ARTS MANU
AL — REV
.
#2 (12/19/08)
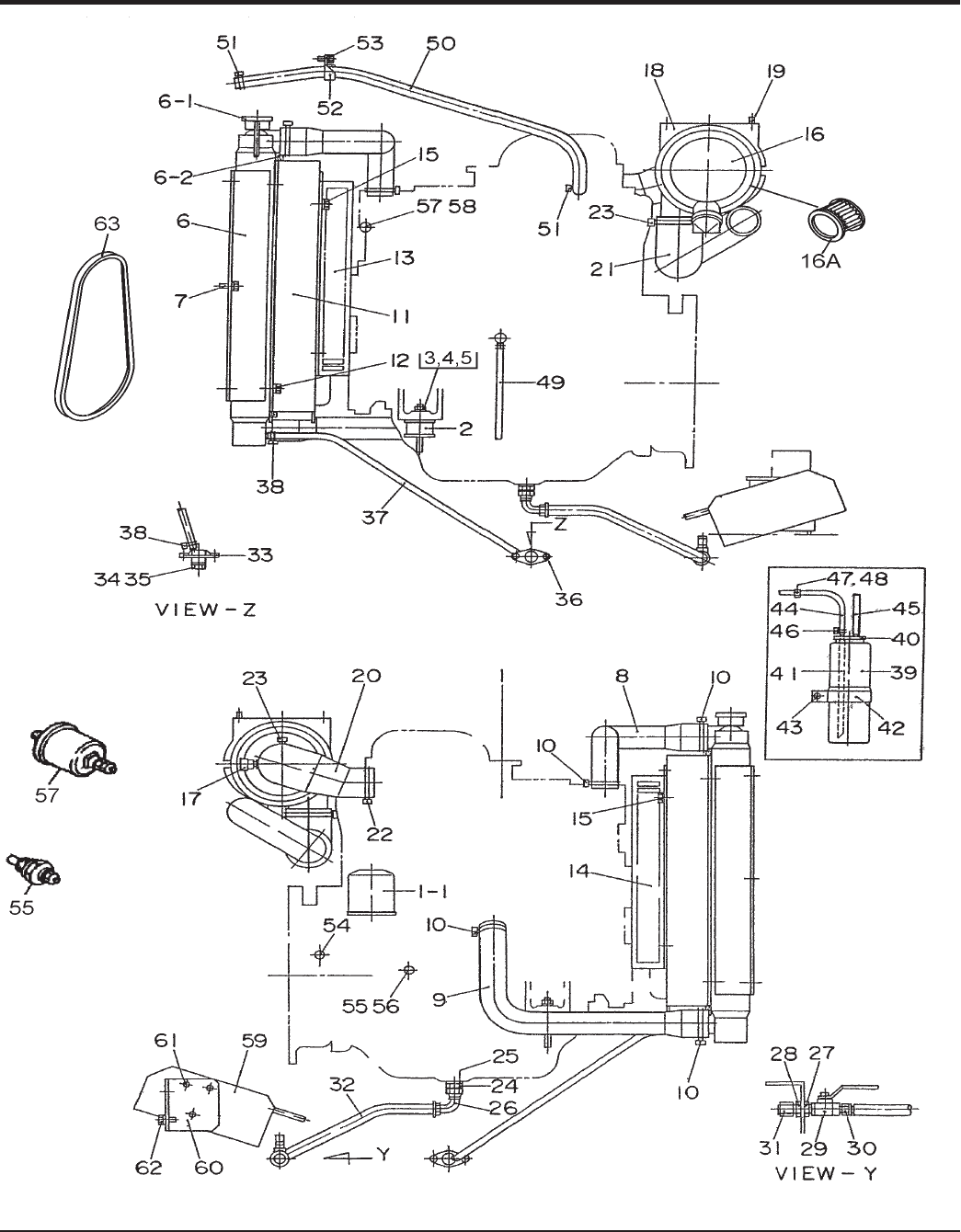
ENGINE AND RADIA
TOR ASSY
. (CONTINUED)
1
...
...
54
55
56
57
58
...
...
78