User's Manual
Manuals
Brands
Multiquip Manuals
Portable Generator
Multiquip Multiquip Portable Generator DCA250SSI
61
62
63
64
65
66
67
68
69
70
P
A
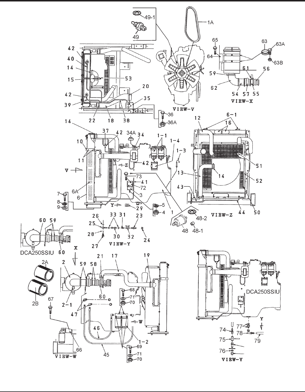
GE 70 — DCA250SSI/DCA250SSIU GENERA
T
OR • OPERA
TION AND P
ARTS MANU
AL — REV
.
#0 (01/12/11)
ENGINE AND RADIA
TOR ASSY
. (CONTINUED)
1
...
...
68
69
70
71
72
...
...
104