User's Manual
Manuals
Brands
Multiquip Manuals
Portable Generator
Multiquip Multiquip Portable Generator DCA250SSI
81
82
83
84
85
86
87
88
89
90
P
A
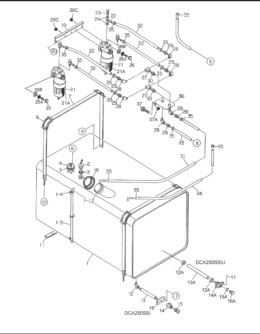
GE 82 — DCA250SSI/DCA250SSIU GENERA
T
OR • OPERA
TION AND P
ARTS MANU
AL — REV
.
#0 (01/12/11)
FUEL T
ANK ASSY
.
1
...
...
80
81
82
83
84
...
...
104