User's Manual
Manuals
Brands
Multiquip Manuals
Trash Compactor
Multiquip Multiquip Trash Compactor MVC-88GHW
21
22
23
24
25
26
27
28
29
30
l
P
A
GE 30 — MVC88GH/GHW PLA
TE COMP
A
CT
OR — OPERA
TION AND P
AR
TS MANU
AL — REV
.
#5 (01/11/11)
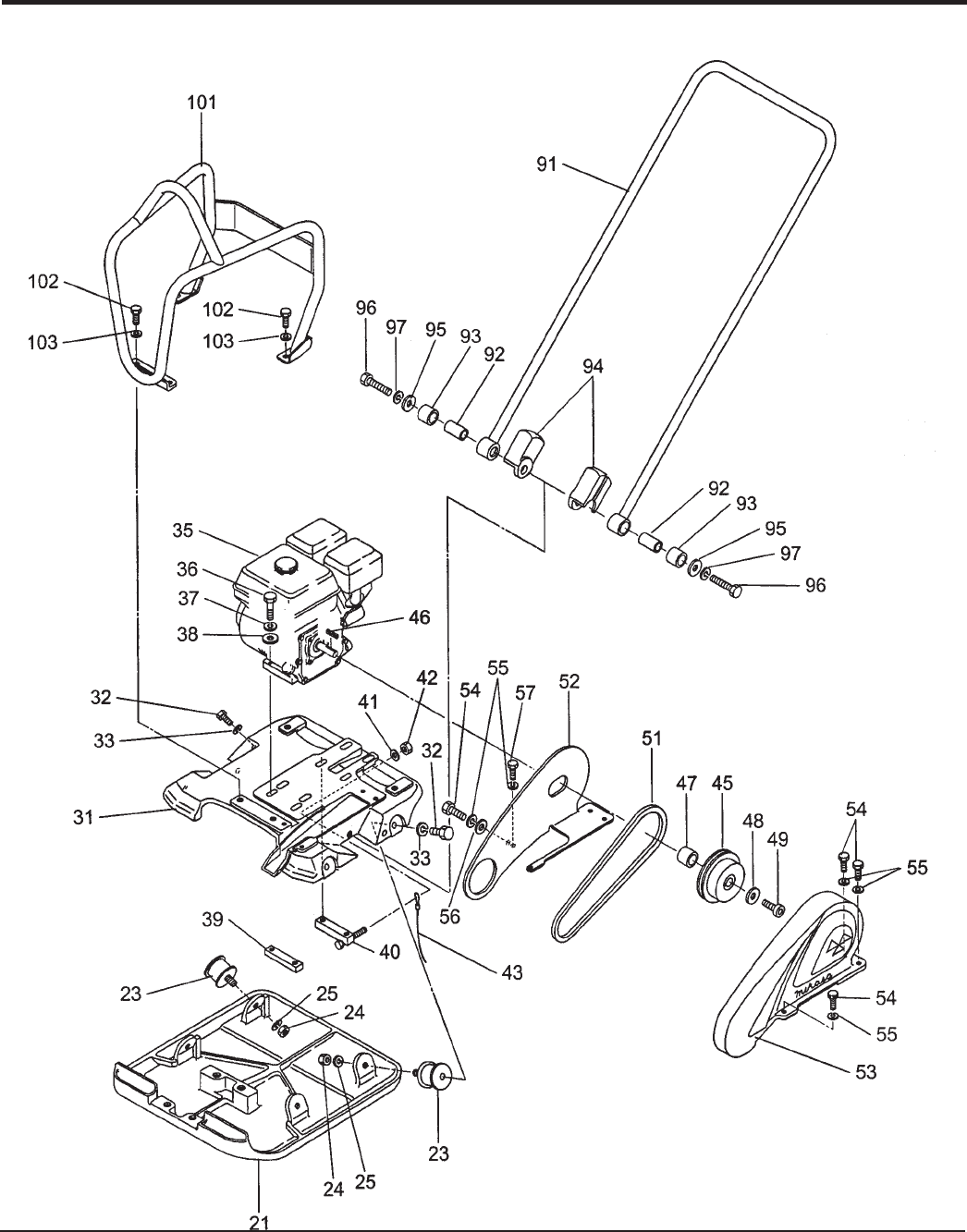
BODY ASSY
.
1
...
...
28
29
30
31
32
...
...
74