User's Manual
Manuals
Brands
Multiquip Manuals
Welding System
Multiquip Multiquip Welding System GA-6RZR2
31
32
33
34
35
36
37
38
39
40
P
A
GE 36 — GA-6RZR2 A.C.
GENERA
T
OR — P
ARTS & OPERA
TION MANU
AL — REV
.
#5 (09/16/05)
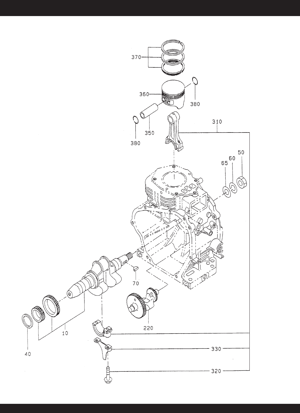
ROBIN EH-34 ENGINE — CRANKSHAFT & PIST
ON ASSY
.
CRANKSHAFT & PIST
ON ASSY
.
1
...
...
34
35
36
37
38
...
...
52