Specifications
Manuals
Brands
Multiquip Manuals
Trash Compactor
MVH-200DA2
51
52
53
54
55
56
57
58
59
60
P
A
GE 52 — MVH-306DS2 PLA
TE COMP
A
CT
OR — OPERA
TION AND P
ARTS MANU
AL — REV
.
#2 (08/15/07)
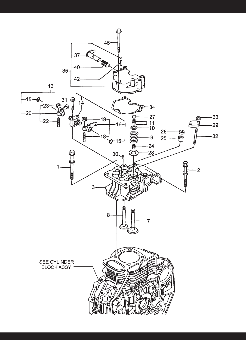
Y
ANMAR L70V6 ENGINE— CYLINDER HEAD ASSY
.
CYLINDER HEAD ASSY
.
1
...
...
49
50
51
52
53
...
...
74