user manual

PAGE 58 — DCA45SSIU3 50 HZ GENERATOR • OPERATION AND PARTS MANUAL — REV. #2 (12/19/08)
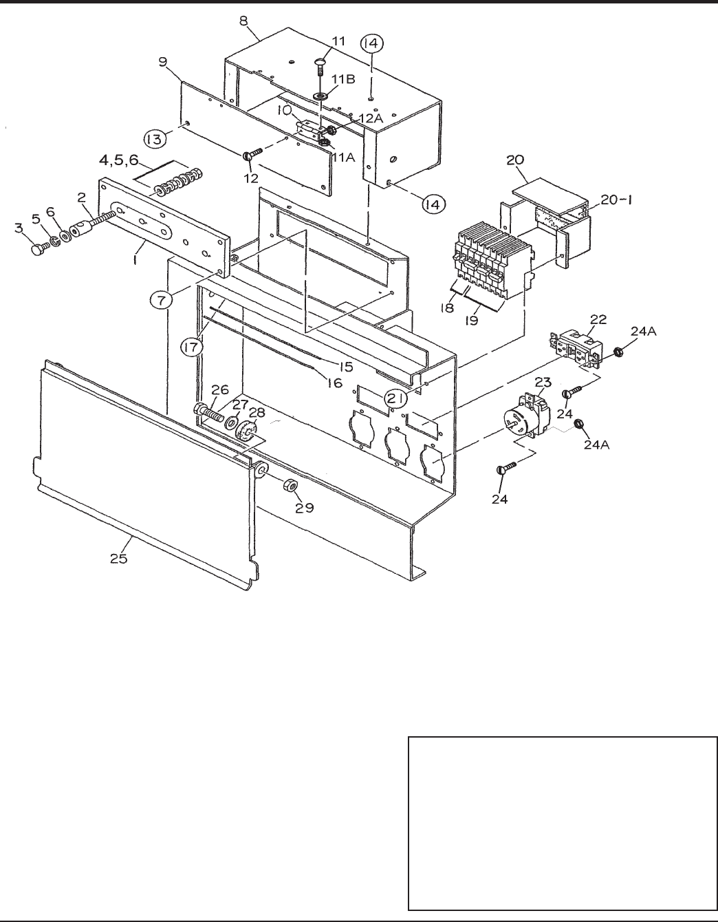
OUTPUT TERMINAL ASSY.
ADD THE FOLLOWING DIGITS AFTER THE PART
NUMBER WHEN ORDERING ANY PAINTED PANEL TO
INDICATE COLOR OF UNIT:
1-ORANGE 5-BLACK
2-WHITE 6-CATERPILLAR YELLOW
3-SPECTRUM GREY 7-CATO GOLD
4-SUNBELT GREEN 8-RED
THE SERIAL NUMBER MAY BE REQUIRED.










