user manual
Manuals
Brands
Multiquip Manuals
Portable Generator
Portable Generator CDA45SSIU3
51
52
53
54
55
56
57
58
59
60
P
A
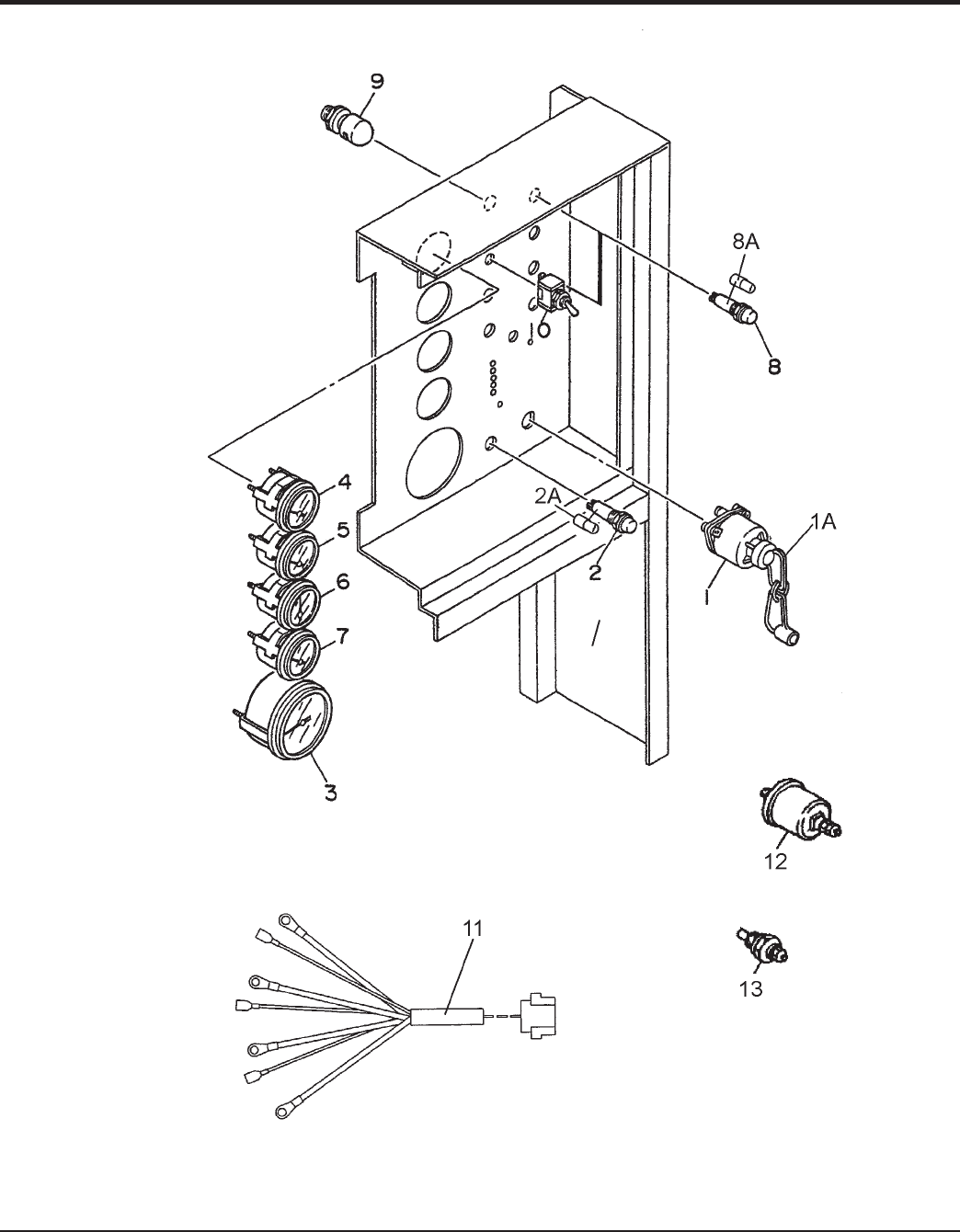
GE 60 — DCA45SSIU3 50 HZ GENERA
T
OR • OPERA
TION AND P
ARTS MANU
AL — REV
.
#2 (12/19/08)
ENGINE OPERA
TING P
ANEL ASSY
.
1
...
...
58
59
60
61
62
...
...
78