user manual
Manuals
Brands
Multiquip Manuals
Portable Generator
Portable Generator DCA250SSIU
51
52
53
54
55
56
57
58
59
60
P
A
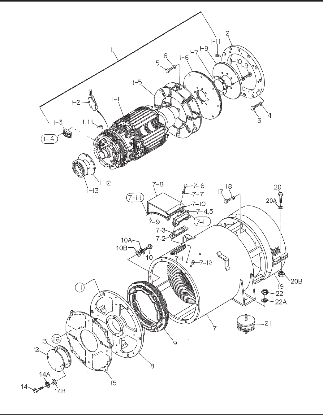
GE 56 — DCA250SSI/DCA250SSIU GENERA
T
OR • OPERA
TION AND P
ARTS MANU
AL — REV
.
#0 (01/12/11)
GENERA
TOR ASSY
.
1
...
...
54
55
56
57
58
...
...
104