user manual
Manuals
Brands
Multiquip Manuals
Portable Generator
Portable Generator DCA250SSIU
71
72
73
74
75
76
77
78
79
80
P
A
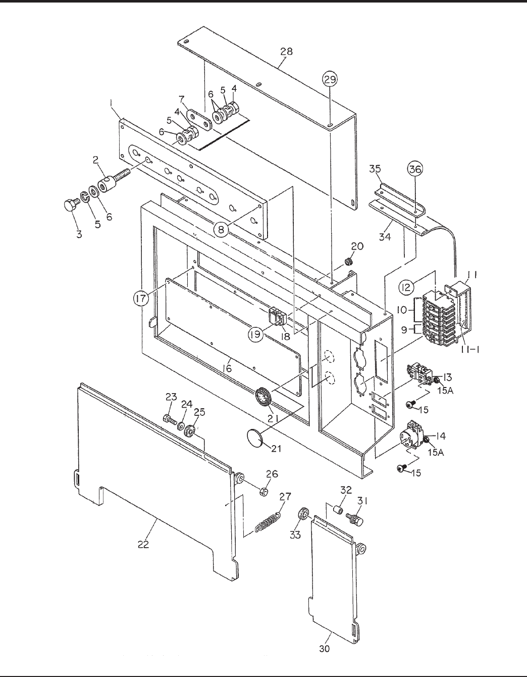
GE 74 — DCA250SSI/DCA250SSIU GENERA
T
OR • OPERA
TION AND P
ARTS MANU
AL — REV
.
#0 (01/12/11)
OUTPUT TERMINAL ASSY
.
1
...
...
72
73
74
75
76
...
...
104