user manual
Manuals
Brands
Multiquip Manuals
Trash Compactor
Trash Compactor MVC-88GH
51
52
53
54
55
56
57
58
59
60
l
P
A
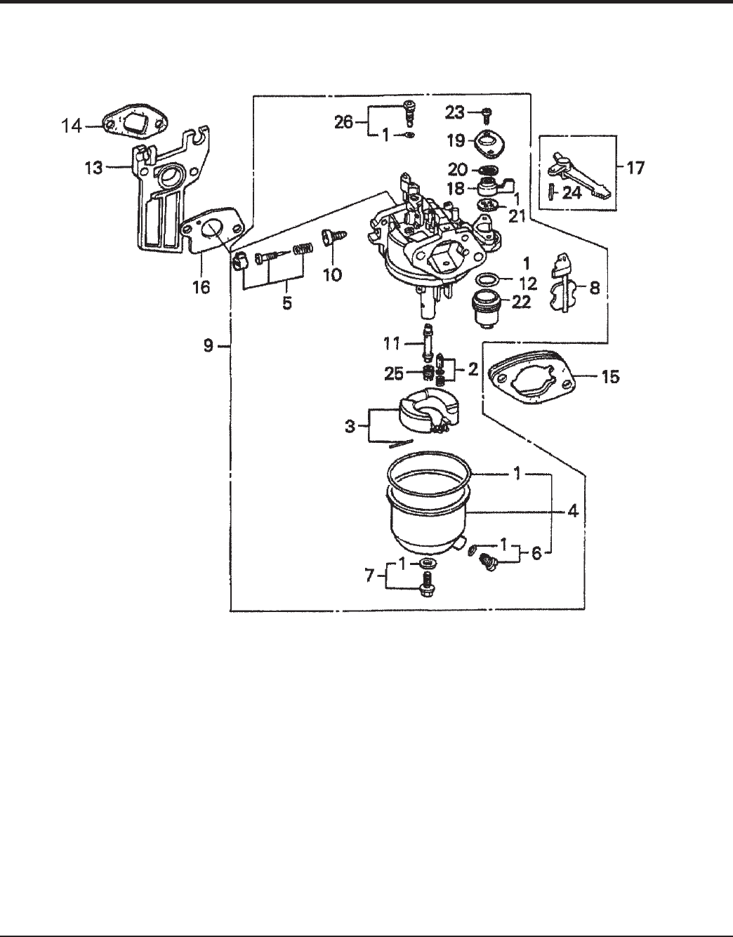
GE 54 — MVC88GH/GHW PLA
TE COMP
A
CT
OR — OPERA
TION AND P
AR
TS MANU
AL — REV
.
#5 (01/11/11)
CARBURETOR ASSY
.
1
...
...
52
53
54
55
56
...
...
74