user manual
Manuals
Brands
Multiquip Manuals
Trash Compactor
Trash Compactor MVH306GH
31
32
33
34
35
36
37
38
39
40
P
A
GE 40 — MVH306GH PLA
TE COMP
A
CT
OR — OPERA
TION AND P
ARTS MANU
AL — REV
.
#8 (01/31/14)
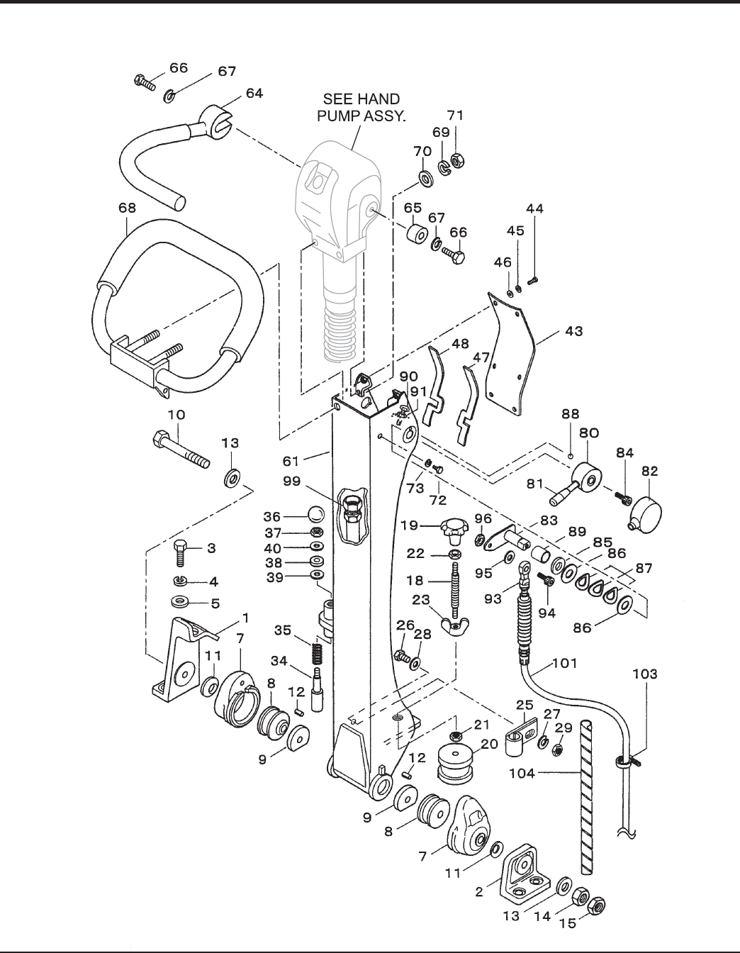
CONTROL HANDLE ASSY
.
CONTROL HANDLE ASSY
.
1
...
...
38
39
40
41
42
...
...
80