user manual
Manuals
Brands
Multiquip Manuals
Trash Compactor
Trash Compactor MVH306GH
51
52
53
54
55
56
57
58
59
60
P
A
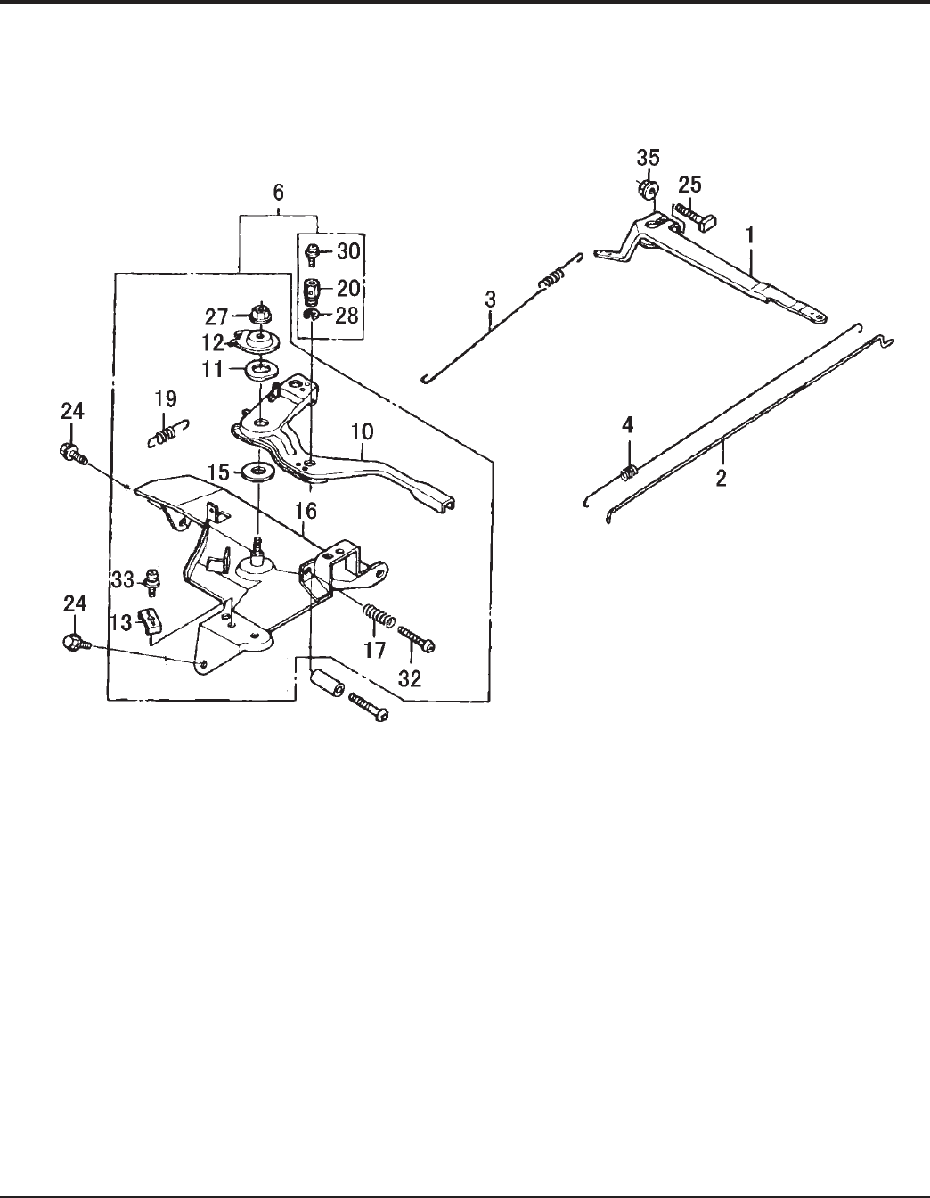
GE 52 — MVH306GH PLA
TE COMP
A
CT
OR — OPERA
TION AND P
ARTS MANU
AL — REV
.
#8 (01/31/14)
CONTROL ASSY
.
GX270K1SMX2 — CONTROL ASSY
.
1
...
...
50
51
52
53
54
...
...
80