Tài liệu tham khảo (hướng dẫn đầy đủ)
Table Of Contents
- Tìm kiếm chủ đề nhanh
- Giới Thiệu
- Các Bộ Phận của Máy Ảnh
- Chuẩn Bị Chụp Ảnh
- Các Thao Tác Cơ Bản về Chụp Ảnh và Phát Lại
- Kết nối với Thiết bị Thông minh (SnapBridge)
- Các Chức Năng Chụp Ảnh
- Chọn Chế Độ Chụp
- Chế độ Tự động
- Chế Độ Cảnh (Chụp Ảnh Phù Hợp Với Điều Kiện Chụp)
- Chế Độ Sáng Tạo (Áp Dụng Hiệu Ứng Khi Chụp)
- Chế Độ P, S, A, và M (Cài Đặt Phơi Sáng cho Chụp Ảnh)
- Cài Đặt Các Chức Năng Chụp Ảnh với Đa Bộ Chọn
- Chế Độ Đèn Nháy
- Tự hẹn giờ
- Chế Độ Chụp Cận Cảnh (Chụp Ảnh Cận Cảnh)
- Sử Dụng Thanh Trượt Sáng Tạo
- Bù Phơi Sáng (Điều Chỉnh Độ Sáng)
- Sử Dụng Thu Phóng
- Lấy Nét
- Thiết Lập Mặc Định (Đèn Nháy, Tự Hẹn Giờ, và Chế Độ Chụp Cận Cảnh)
- Các Chức Năng Không Thể Được Sử Dụng Cùng Lúc Khi Chụp Ảnh
- Các Tính Năng Phát Lại
- Thu Phóng Phát Lại
- Phát Lại Hình Thu Nhỏ/Hiển Thị Theo Lịch
- Chế Độ Danh Sách Theo Ngày
- Xem và Xóa Các Hình Ảnh trong một Chuỗi Ảnh
- Chỉnh Sửa Hình Ảnh (Hình Ảnh Tĩnh)
- Hiệu Ứng Nhanh: Thay Đổi Màu Sắc hoặc Biểu Cảm
- Sửa Lại Nhanh: Tăng Cường Độ Tương Phản và Bão Hòa
- D-Lighting: Tăng Cường Độ Sáng và Độ Tương Phản
- Điều Chỉnh Mắt Đỏ: Điều Chỉnh Mắt Đỏ Khi Chụp với Đèn Nháy
- Sửa Lại Vẻ Huyền Ảo: Cải Thiện Các Khuôn Mặt Người
- Ảnh Thu Nhỏ: Giảm Kích Cỡ của Hình Ảnh
- Xén: Tạo một Bản Sao Được Xén
- Phim
- Nối Máy Ảnh với TV, Máy In, hoặc Máy Tính
- Sử Dụng Menu
- Ghi Chú Kĩ Thuật

132
Sử Dụng Menu
Menu Phim
C Phát Lại ở Chuyển Động Chậm và Chuyển Động Nhanh
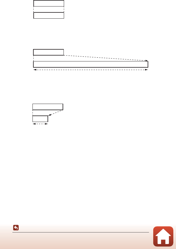
Khi ghi ở tốc độ bình thường:
Khi ghi ở h HS 480/4×, hoặc a HS 480/4×:
Phim được ghi ở 4× tốc độ bình thường.
Phim được phát lại ở chuyển động chậm với tốc độ chậm hơn 4×.
Khi ghi ở j HS 1080/0,5×, hoặc Y HS 1080/0,5×:
Phim được ghi ở 1/2 tốc độ bình thường.
Phim được phát lại ở chuyển động nhanh với tốc độ nhanh hơn 2×.
Thời gian
phát lại
Thời gian
ghi
10 giây
10 giây
Thời gian
ghi
Thời gian
phát lại
40 giây
10 giây
Phát lại chuyển động chậm
Thời gian
ghi
Thời gian
phát lại
10 giây
5 giây
Phát lại chuyển động
nhanh










