Water System User Manual
Manuals
Brands
Nimbus Water Systems Manuals
Water System
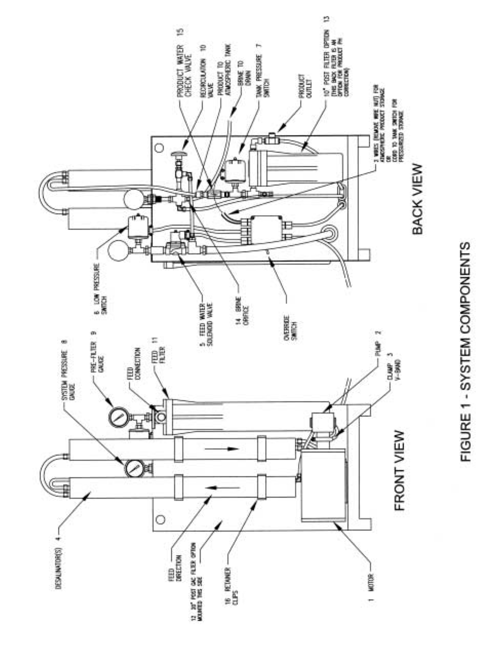
REVERSE OSMOSIS TREATMENT SYSTEM MN-800-TF
1
2
3
4
5
6
7
8
9
10
4
1
...
2
3
4
5
6
...
...
24