User Manual
Troubleshooting: Installation – continued
08/15/2000
6-3
SC 4812ETL BTS Optimization/ATP
PRELIMINARY
Cannot Communicate to
Communications Analyzer
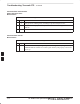
Table 6-3: Troubleshooting a Communications Analyzer Communication Failure
n Step Action
1 Verify analyzer is connected to LMF with GPIB adapter.
2 Verify cable setup.
3 Verify the GPIB address is set to 18.
4 Verify the GPIB adapter DIP switch settings are correct. Refer to Test Equipment
setup section for details.
5 Verify the GPIB adapter is not locked up. Under normal conditions, only 2 green
LEDs must be ‘ON’ (Power and Ready). If any other LED is continuously ‘ON’,
then power-cycle the GPIB Box and retry.
6 If a Hyperterm window is open for MMI, close it.
7 Verify the LMF GPIB address is set to 18.
8 Verify the analyzer is in Talk and Listen not Control mode.
6










