User's Manual
Table Of Contents

COMSPHERE 3600 Series Data Service Units
5-16 March 1999 3610-A2-GB41-60
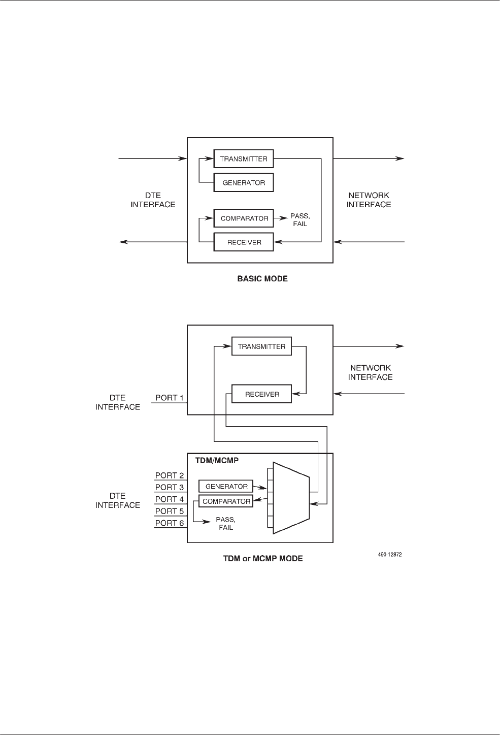
If the DSU, TDM or MCMP (MUX), or DBM fails the
test, the second line displays Fail instead of Pass. Also,
the Alarm (Alrm) status indicator lights and the failure is
reported in the DSU’s Health and Status. The Alarm
indicator remains lit and the failure continues to be
reported until the Device Test ends with a Pass in all
categories (DSU, MUX, DBM). Until then, you can
proceed but be aware that the DSU may not function
properly.
Figure 5-4. Device Test