User's Manual
Table Of Contents

DSU Operations
5-173610-A2-GB41-60 March 1999
Loopback
The Loopback (Lpbk) branch displays four loopbacks:
• Local Loopback (LL)
• DTE Loopback (DTE)
• Digital Loopback (DL)
• Remote Digital Loopback (RL)
For additional information concerning loopbacks, refer
to the COMSPHERE 3600 Series Data Service Units,
Models 3610 and 3611, Operator’s Guide.
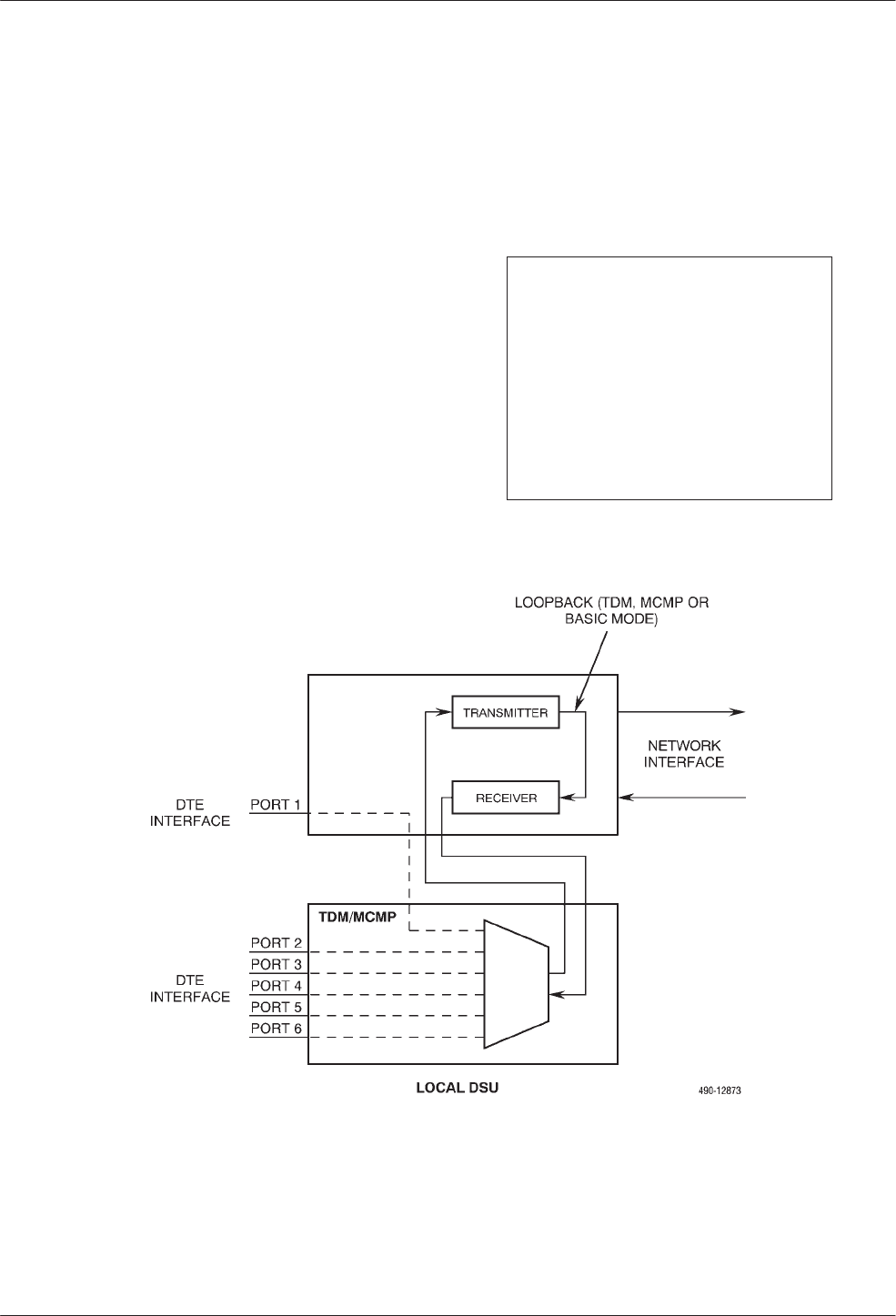
Local Loopback
Local Loopback (LL) is session-disruptive; performing
the test will disrupt data. Local Loopback permits the
DTE to run a test on the DTE connection to the DSU and
verify that the DSU is functioning properly (Figure 5-5).
This test cannot be performed by the DBM.
Local loopback is used with the DTE test after the
DSU passes the Device Test.
If you issue a Local Loopback to a tributary DSU, the
DSU must have a DBM installed or you will get a
Conflict w/ Environ message. Use the DBM to abort the
Local Loopback by calling the tributary DSU.
CAUTION
If a tributary DSU is in Local
Loopback, the DBM
must
be in
Standby or Idle mode if the NMS
is to abort the loopback. If the
DBM is in Dial Backup mode
when the NMS issues the Abort
command, the command will not
be recognized and the loopback
must be aborted from the DCP.
Figure 5-5. Local Loopback