User's Manual
Table Of Contents

DSU Operations
5-193610-A2-GB41-60 March 1999
DTE Loopback
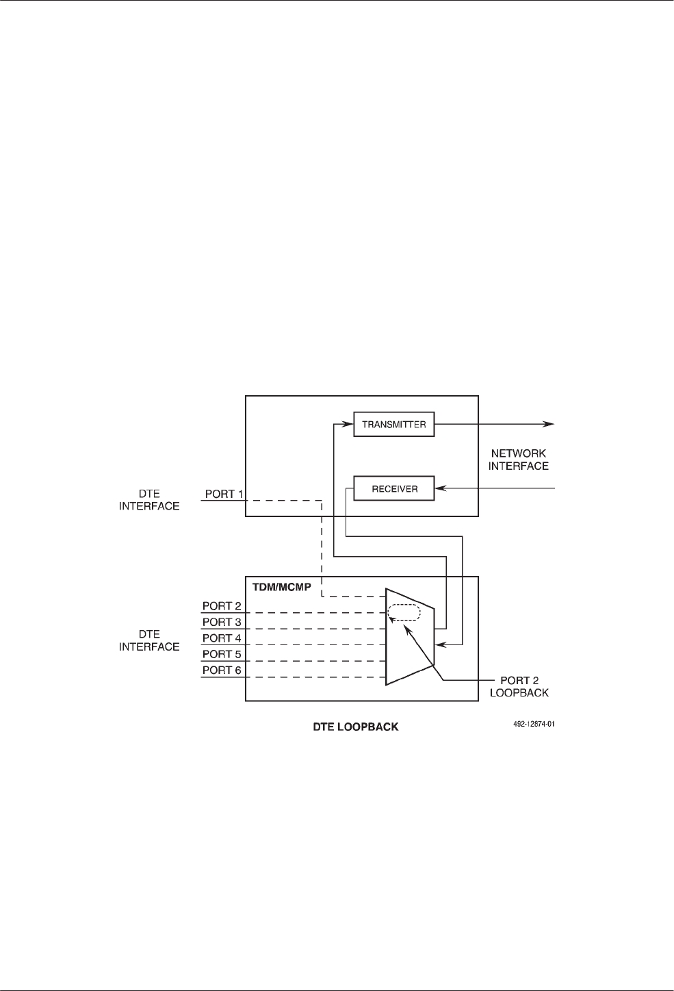
DTE Loopback (DTE) loops back the data path at the
DTE/DCE interface on a per port basis without affecting
the operation of the remaining ports (Figure 5-6). A
message appears regarding successful loopback execution.
To access the DTE Loopback from the top-level menu,
make the following selections:
• Local (F1)
• Test
• DSU or DBM (select active core)
• Lpbk
• DTE
• Port selection
Results
The test result is a message telling you whether or not
the loopback executed successfully.
The DSU with TDM or MCMP only permits one test to
be active at a time. Thus, if Port 1 is placed in loopback,
another port cannot be placed in loopback. The only test
selection available is Abort.
Figure 5-6. DTE Loopback on Port 2