User's Manual
Manuals
Brands
Paradyne Manuals
Computer Drive
Paradyne DATA SERVICE UNIT 3611
211
212
213
214
215
216
217
218
219
220
Table Of Contents
Table of Contents
List of Figures
List of Tables
Preface
Overview
Model 3610 Installation
Model 3611 Installation
Principles of Operation
DSU Operations
Data Service Unit Menu
Configuration Worksheets
Pin Assignments
Configuration Scenarios
Index
COMSPHERE 3600 Series Data Service Units
D-16
March 1999
3610-A2-GB41-60
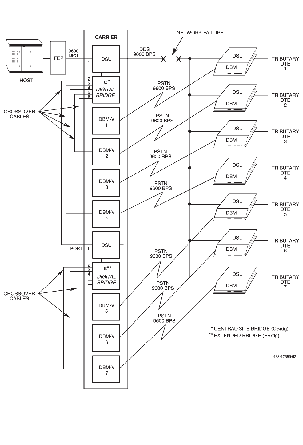
Figure D-8.
Extended Bridge Configuration: Automatic
Partial Backup Active – Dial Backup Active for
All
Drops
1
...
...
210
211
212
213
214
...
...
238