User's Manual
Table Of Contents

Configuration Scenarios
D-313610-A2-GB41-60 March 1999
• If all tributary DSUs are out of service, the control
MCMP will have an Out-of-Frame alarm.
• If a tributary is in Backup mode and the network
problem has been fixed, the only commands that
can be sent to the tributary from the control MCMP
are aggregate tests (e.g., the End-to-End test or
Digital Test).
• While in backup, the tributary DSU can only be
addressed via the control DSU-DBMs for
diagnostics. Creating a poll list at the DSU-DBMs
is acceptable, but the poll list must be removed after
the call is dropped or unnecessary alarms will
result.
• In configuring the tributary MCMPs, a combination
of TDM and MCMP rules apply. There is a
maximum of two port-sharing groups, with all ports
in the group being contiguous (use the Sharing
Device configuration options). Upstream
switched-carrier configurations must be set:
TxCarrSel set to Cntrl and RxCarrSel set to Cntrl or
Mark in TDM mode (use the system default settings
for MCMP mode).
Pertinent configuration options for the control and
tributary DSU-MCMPs, and a DSU-DBM supporting this
application are provided.
Configuration Options
Set the FEP port sharing configuration options for the
control and tributary DSU-MCMPs as follows
(Configuration Worksheet for MCMP Mode):
• MUX – Setup
MUX Funct: MCMP
Share DevA: Disab
Share DevB: Disab
P1/2 FEPSh: Enab for control; Disab for tributary
P3/4 FEPSh: Enab for control; Disab for tributary
P5/6 FEPSh: Disab
MCMP Bckup: TDM (for tributaries only)
• Prt1, Prt3, and Prt5
Async→Sync: Disab
RTS Cntrl: N/A for control; DTE for tributary
TxCarrSel: Const for control and tributary
RxCarrSel: Const for control and tributary
Elast Stor: Disab
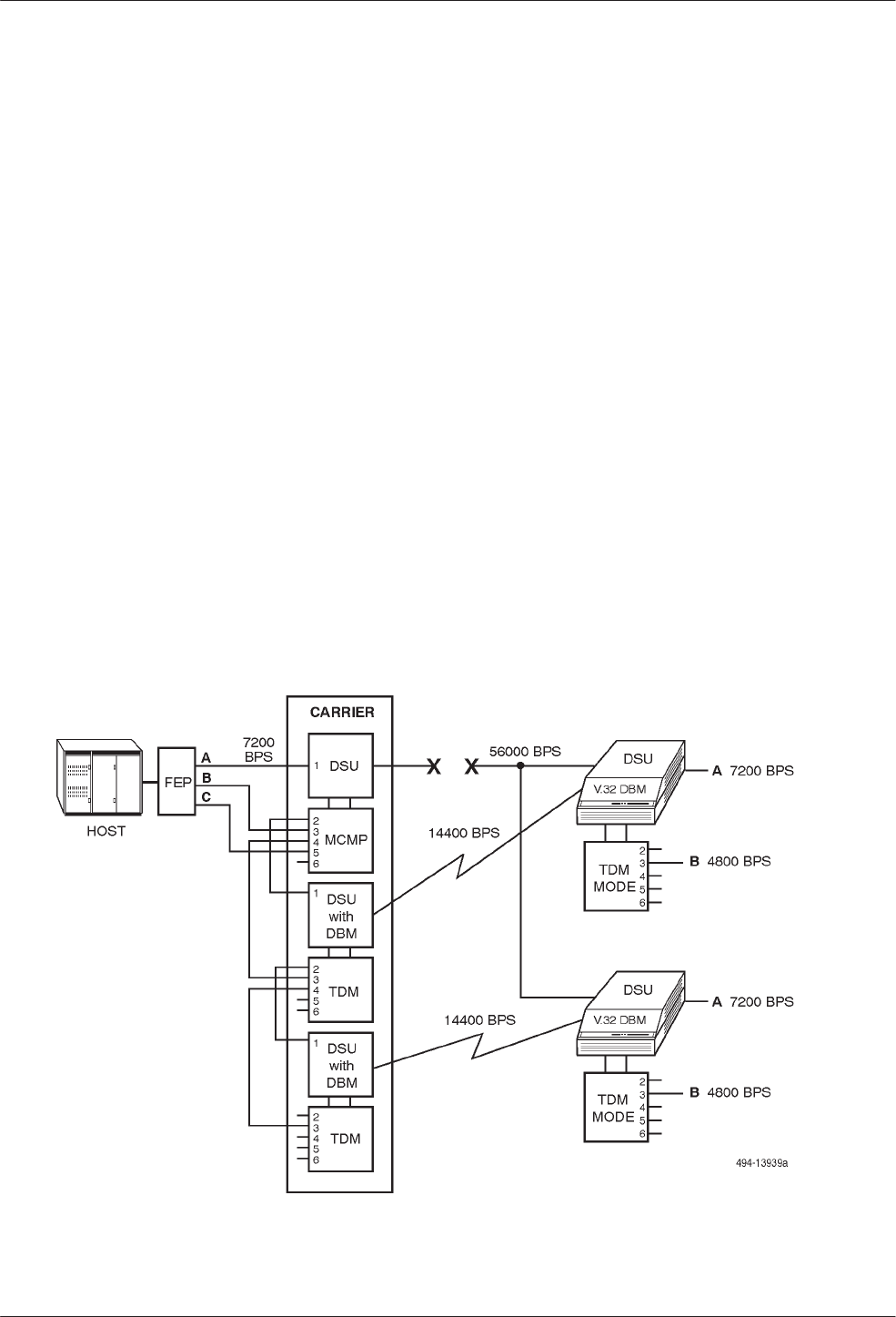
Figure D-15. MCMP FEP Port-Sharing Configuration – Dial Backup Active