User's Manual
Table Of Contents

COMSPHERE 3600 Series Data Service Units
4-16 March 1999 3610-A2-GB41-60
TDM Backup
A point-to-point multiplexing circuit can be backed up
through the switched telephone network. There are five
possible configurations:
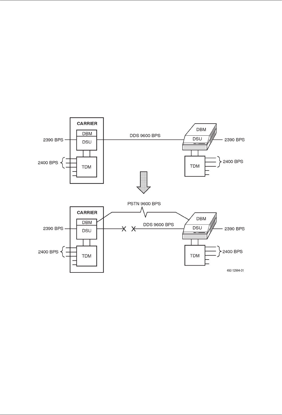
• Case 1 – V.32 Backup for subrate DDS
(Figure 4-11). If the DDS network is
out-of-service, the network management system can
initiate dial backup or, if configured for automatic
dial backup, the control or tributary DSU can
initiate dial backup. Once the link is re-established,
the TDM circuitry resynchronizes and data
transmission resumes at the same rate as the DDS
circuit. In the example below, the DSU-TDM is
running disruptive diagnostics with four ports
operating at 2400 bps.
Figure 4-11. Case 1 – V.32 Backup for Subrate DDS