Specification Sheet

PSP-L-P2635LF Rev. A
STANDARD SPECIFICATIONS:
BATHROOM FAUCET:
WARRANTY:
• Parts and Finish - Lifetime limited warranty;
or for commercial purchasers, 10 years for multi-family
residential (apartments and condominiums) and 5 years
for all other commercial uses, in each case from the date
of purchase.
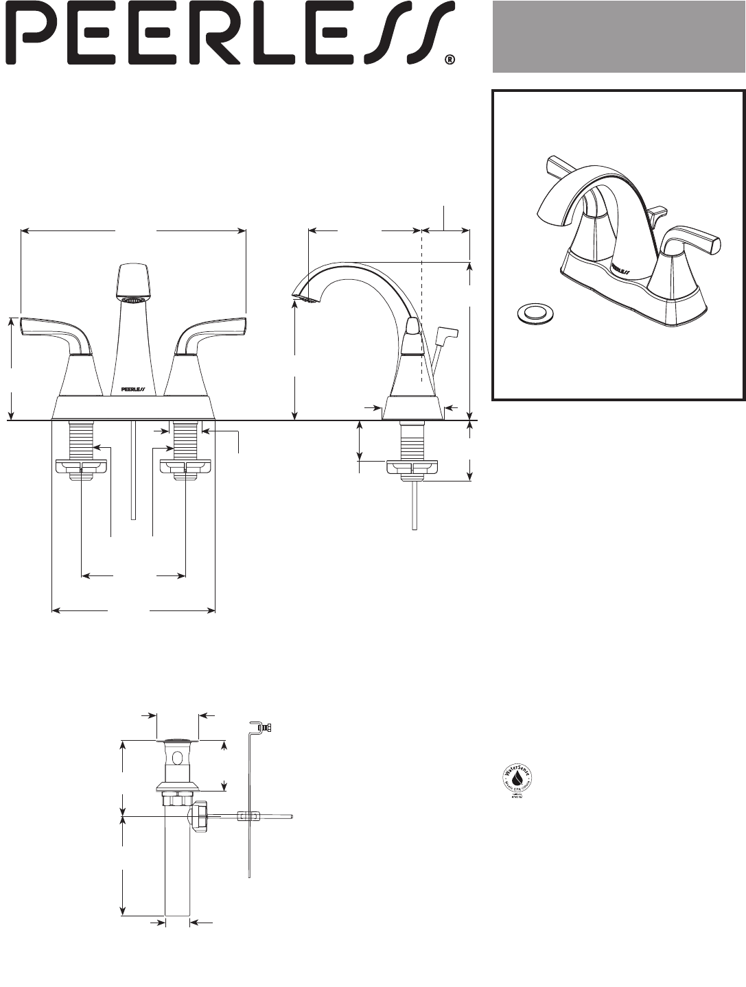
P2635LF
▲
COMPLIES WITH:
• ASME A112.18.1 / CSA B125.1
• ASME A112.18.2 / CSA B125.2
• EPA WaterSense
®
RP38959
p
50/50 Pop-Up
2 5/16"
(59 mm)
4"
(102 mm)
Min.2 1/2" (64 mm)
Clearance to Back
Splash Recommended
■
Two Handle Centerset
■
4 Inch 3 Hole
Sink Applications
▲ Designate proper nish sufx
1 3/8"
(35 mm)
Max. Deck
Thickness
4"
(102 mm)
Centers
6 5/16"
(160 mm)
1/2"-14 NPSM
8 11/16"
(220 mm)
6"
(153 mm)
1 1/8"~1 1/2"
(29~38 mm)
Hole Size
• Maximum 1.0 gpm @ 60 psi, 3.8 L/min @ 414 kPa
• Three hole mount
• 1/4 turn handle stops
• 1/2"-14 NPSM threaded male inlet shanks
• Ceramic cartridge
• Model have drain with pop-up type fitting with
plated flange and stopper
3 15/16"
(100 mm)
1 1/4"
(32 mm)
Dia.
2 1/8"
(54 mm)
Dia.
3 7/8"
(98 mm)
5 1/16"
(128 mm)
4 1/2"
(114 mm)
2 1/8"
(53 mm)
1 5/8" (42 mm)
to
2 3/8" (61 mm)