User manual

Funkcje piekarnika
Funkcja piekarnika Zastosowanie
Pieczenie konwekcyjne
Do pieczenia mięsa lub do pieczenia mięsa i
ciast wymagających jednakowej temperatury, na
więcej niż jednym poziomie, bez przenikania za-
pachów.
Pieczenie tradycyjne
Do pieczenia mięsa lub ciasta na jednym pozio-
mie. Jednocześnie działają górna i dolna grzałka.
Grzałka dolna
Do pieczenia ciast z kruchym spodem. Działa tyl-
ko dolna grzałka.
Turbo grill
Do pieczenia dużych kawałków mięsa. Grzałka
grilla i wentylator piekarnika działają naprzemien-
nie, zapewniając obieg gorącego powietrza wo-
kół potrawy.
Grill
Do grillowania niewielkich ilości płaskich potraw
na środku rusztu. Do przyrządzania tostów.
Rozmrażanie Do rozmrażania potraw.
Piroliza
Umożliwia czyszczenie piekarnika. Wysoka tem-
peratura powoduje wypalenie zanieczyszczeń.
Można je następnie wytrzeć szmatką po ostyg-
nięciu urządzenia.
Funkcja ciepła resztkowego
Gdy włączona jest funkcja Czas
, piekar-
nik wyłącza się automatycznie na kilka mi-
nut przez upływem czasu pieczenia. Piekar-
nik wykorzystuje ciepło resztkowe do za-
kończenia pieczenia i nie pobiera w tym
czasie energii.
Ważne! Funkcja ciepła resztkowego działa
tylko wtedy, gdy funkcja Czas
jest
ustawiona na dłużej niż 20 minut.
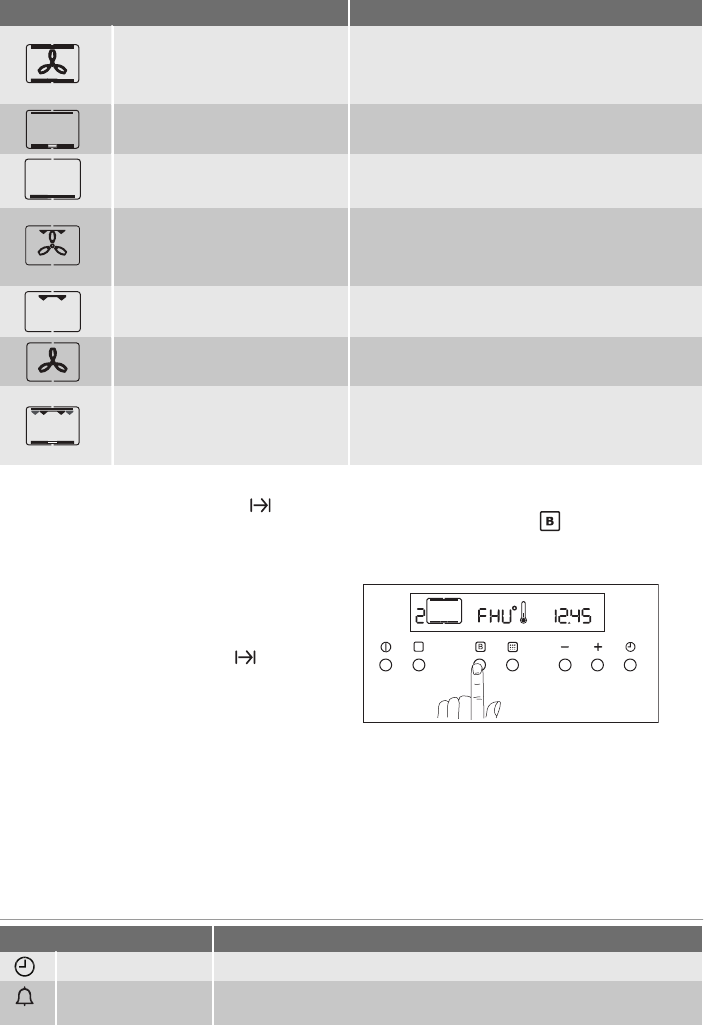
Funkcja szybkiego nagrzewania
Funkcja szybkiego nagrzewania umożliwia
skrócenie czasu wstępnego nagrzewania.
Można ją stosować z każdą funkcją piecze-
nia, za wyjątkiem funkcji Rozmrażanie.
Ważne! Nie należy umieszczać potraw w
piekarniku do czasu zakończenia działania
funkcji szybkiego nagrzewania.
1. Wybrać funkcję piekarnika. W razie po-
trzeby zmienić ustawienie temperatury.
2.
Nacisnąć przycisk
. Na wyświetla-
czu pojawi się wskazanie FHU. Włączy
się funkcja szybkiego nagrzewania.
3. Gdy zakończy się działanie funkcji
szybkiego nagrzewania, rozlegnie się
sygnał dźwiękowy. Zniknie wskazanie
FHU. Ustawiona funkcja piekarnika bę-
dzie nadal działać.
4. Włożyć potrawę do piekarnika.
FUNKCJE ZEGARA
Funkcja zegara Zastosowanie
Aktualny czas Ustawianie, zmienianie lub sprawdzanie aktualnego czasu.
Minutnik Odliczanie ustawionego czasu. Funkcja ta nie ma wpływu na działa-
nie piekarnika.
8 progress