User manual

Acest aparat poate fi conectat la modelele de
plite menţionate în capitolul "Date tehnice".
Priza pentru conectarea plitei se află pe car-
casa aragazului.
Cablurile de conectare ale elementelor de
încălzire şi cablul conductorului de protecţie
sunt scoase afară din plita încorporată; aces-
te cabluri sunt prevăzute cu conexiuni cu şte-
cher.
Introduceţi ştecherele şi cablurile de conec-
tare în prizele corespunzătoare.
În acest fel este împiedicată orice conexiune
greşită.
Producătorul nu îşi asumă nicio respon-
sabilitate dacă măsurile de siguranţă nu
sunt respectate.
Indicaţii privind instalarea
Pentru a asigura o utilizare fără probleme a
aparatului instalat, unitatea sau coloana de
mobilier în care urmează a fi instalat aparatul
trebuie să aibă dimensiuni corespunzătoare.
În conformitate cu reglementările în vigoare,
toate piesele care asigură protecţia la şoc a
pieselor aflate sub tensiune şi a celor izolate
trebuie fixate astfel încât să nu poată fi
desfă
cute fără unelte.
Aceasta include de asemenea fixarea
oricăror pereţi de capăt la începutul sau sfâr-
şitul unei linii de mobilier încorporat.
Protecţia la şoc trebuie asigurată în orice si-
tuaţie prin încorporarea aparatului.
Aparatul poate fi plasat cu spatele sau un
perete lateral al său pe mobilierul superior de
bucătărie, aparate sau pereţi. Cu toate aces-
tea, numai alte aparate sau unităţi de aceeaşi
înălţime cu a aparatului pot fi puse pe celălalt
perete lateral.
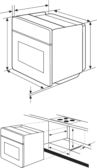
Dimensiunile cuptorului (vedeţi figura)
594
7
20
570
590
540
560
550 min
600
560-570
80÷100
Instrucţiuni pentru încorporare
Pentru a asigura o utilizare fără probleme a
aparatului instalat, unitatea sau coloana de
mobilier în care urmează a fi instalat aparatul
trebuie să aibă dimensiuni corespunzătoare.
Fixarea aparatului de mobilier
1. Deschideţi uşa cuptorului.
2. Fixaţi cuptorul în unitate utilizând cele pa-
tru console de distanţare (vedeţi figura -
A ).
Acestea se potrivesc exact în găurile din
cadru. Apoi fixaţi cele patru şuruburi pen-
tru lemn furnizate (vedeţi figura B ).
progress 19