User manual

Dit apparaat kan worden aangesloten op de
in hoofdstuk "Technische gegevens" aange-
geven kookplaatmodellen.
Het stopcontact voor het aansluiten van de
kookplaat bevindt zich op de behuizing van
de oven.
Uit de inbouwkookplaat steken de aansluit-
kabels van de verwarmingselementen en de
aardkabel; deze kabels zijn uitgerust met
stekkers.
Steek de stekker en de aansluitkabel in het
desbetreffende stopcontact van de oven.
De mogelijkheid van een verkeerde aanslui-
ting is zodoende uitgesloten.
De fabrikant kan niet aansprakelijk ge-
steld worden als de veiligheidsvoor-
schriften niet opgevolgd worden.
Montage-instructies
Voor een probleemloos gebruik van het ge-
installeerde apparaat moet de inbouwkast of
de ruimte waar het apparaat in wordt ge-
plaatst de juiste afmetingen hebben.
Overeenkomstig de geldende regelgeving,
moeten alle onderdelen die beschermd zijn
door de antischokbeveiliging op een dusda-
nige manier zijn bevestigd dat deze niet zon-
der gereedschappen verwijderd kunnen
worden.
Hierbij hoort ook de bevestiging van eventu-
ele afsluitende kanten aan het begin of einde
van een rij inbouwapparaten.
De antischokbeveiliging moet in ieder geval
door het inbouwen gegarandeerd zijn.
Het apparaat kan met de achterkant resp.
zijkant tegen hogere keukenmeubelen, ap-
paraten of wanden geplaatst worden. Aan de
andere zijkant mogen er dan echter geen an-
dere apparaten of meubelen van dezelfde
hoogte als het apparaat geplaatst worden.
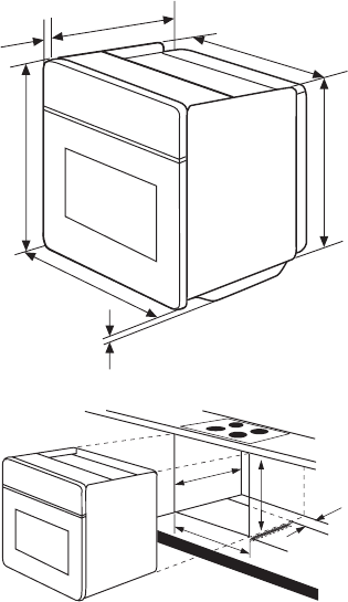
Afmetingen van oven (zie afbeelding)
594
7
20
570
590
540
560
550 min
600
560-570
80รท100
Instructies voor de inbouw
Voor een probleemloos gebruik van het ge-
installeerde apparaat moet de inbouwkast of
de ruimte waar het apparaat in wordt ge-
plaatst de juiste afmetingen hebben.
Bevestiging in het meubel
1. Open de ovendeur.
2. Bevestig de oven met behulp van de vier
afstandhouders in het meubel (zie afbeel-
ding - A ).
Deze passen exact in de gaten van het
frame. Draai vervolgens de vier meegele-
verde houtschroeven vast (zie afbeelding
B ).
20 progress