Laptop - Widescreen Laptop User Manual
Manuals
Brands
Rackmount Solutions Manuals
Projector
CYBER VIEW RP-1020QD
21
22
23
24
25
26
27
28
29
30
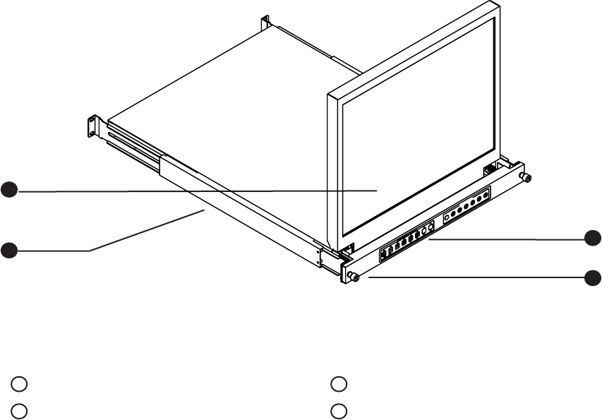
7.2 Structure Diagram
Chapter 7
P
.21
RP-1
17QD, RP-1
19QD & RP-120QD
LCD interchangeable module kit
“One Man” Installation Slides
1
1
2
2
LCD + Quad display membrane
Thumb Screw
3
4
3
4
1
...
...
23
24
25
26
27
...
...
48